专利数据库
统计分析
产业报告
专利数据监控
产业人才
行业动态
产业政策法规
维权援助
个人中心
详情
文本
图像
标题
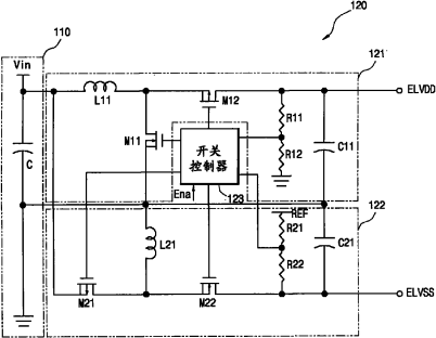
具有DC-DC转换器的有机发光显示器
授权日
1900-01-01
公开(公告)号
CN101231818A
申请日
2008-01-10
公开(公告)日
2008-07-30
当前申请(专利权)人
三星显示有限公司
发明人
朴星千
简单同族
CN101231818A | CN101231818B | EP1951005A1 | EP1951005B1 | JP2008176306A | JP5323345B2 | KR100833764B1 | TW200844950A | TWI369664B | US20080174287A1 | US8334824
简单同族成员数量
11
简单同族被引用专利总数
125
诉讼案件数
0
法律状态/事件
授权 | 权利转移
抱歉,您的浏览器不支持PDF预览,请点击链接下载PDF文件