专利数据库
统计分析
产业报告
专利数据监控
产业人才
行业动态
产业政策法规
维权援助
个人中心
详情
文本
图像
标题
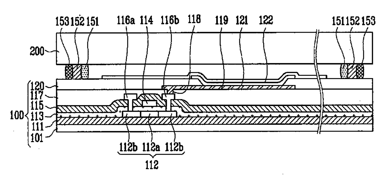
有机发光显示器及其制造方法
授权日
2016-08-17
公开(公告)号
CN103762319B
申请日
2007-01-16
公开(公告)日
2016-08-17
当前申请(专利权)人
三星显示有限公司
发明人
李钟禹 | 金兑承 | 林大镐 | 李浩硕
简单同族
CN103762319A | CN103762319B | EP1811589A2 | EP1811589A3 | EP1811589B1 | JP2007200842A | JP4456092B2 | TW200730009A | TWI391020B | US20070170605A1 | US7834550
简单同族成员数量
11
简单同族被引用专利总数
141
诉讼案件数
0
法律状态/事件
授权
抱歉,您的浏览器不支持PDF预览,请点击链接下载PDF文件