专利数据库
统计分析
产业报告
专利数据监控
产业人才
行业动态
产业政策法规
维权援助
个人中心
详情
文本
图像
标题
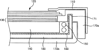
背光组件和具有该组件的液晶显示装置
授权日
2010-02-17
公开(公告)号
CN100590491C
申请日
2006-10-11
公开(公告)日
2010-02-17
当前申请(专利权)人
三星显示有限公司
发明人
姜声勇 | 崔盛植 | 朴辰赫 | 李廷权 | 元用光 | 张兑硕
简单同族
CN100590491C | CN1949055A | JP2007108739A | JP2007108739A5 | JP5107549B2 | KR101203661B1 | KR1020070041215A | US20070085943A1 | US7440046
简单同族成员数量
9
简单同族被引用专利总数
54
诉讼案件数
0
法律状态/事件
未缴年费 | 权利转移
抱歉,您的浏览器不支持PDF预览,请点击链接下载PDF文件