专利数据库
统计分析
产业报告
专利数据监控
产业人才
行业动态
产业政策法规
维权援助
个人中心
详情
文本
图像
标题
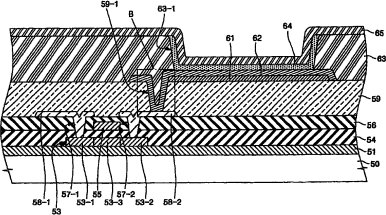
顶部发射型有机发光显示器件及其制造方法
授权日
2010-03-24
公开(公告)号
CN100595943C
申请日
2005-03-11
公开(公告)日
2010-03-24
当前申请(专利权)人
三星显示有限公司
发明人
徐昌秀 | 朴汶熙 | 姜泰旭 | 柳承润 | 李宽熙
简单同族
CN100595943C | CN101667589A | CN101667589B | CN1668148A | JP2005259695A | JP4414358B2 | KR100579192B1 | KR1020050091261A | US20050230684A1 | US7741640
简单同族成员数量
10
简单同族被引用专利总数
85
诉讼案件数
0
法律状态/事件
授权 | 权利转移
抱歉,您的浏览器不支持PDF预览,请点击链接下载PDF文件