专利数据库
统计分析
产业报告
专利数据监控
产业人才
行业动态
产业政策法规
维权援助
个人中心
详情
文本
图像
标题
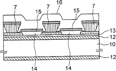
有机电致发光显示板
授权日
2009-06-10
公开(公告)号
CN100499954C
申请日
2001-09-25
公开(公告)日
2009-06-10
当前申请(专利权)人
日本先锋公司
发明人
杉本晃 | 宫寺敏之 | 吉田绫子
简单同族
CN100499954C | CN1347269A | EP1191819A2 | EP1191819A3 | JP2002100469A | US20020093285A1 | US20050099119A1 | US6897607 | US7053550
简单同族成员数量
9
简单同族被引用专利总数
174
诉讼案件数
0
法律状态/事件
授权 | 复审
抱歉,您的浏览器不支持PDF预览,请点击链接下载PDF文件