专利数据库
统计分析
产业报告
专利数据监控
产业人才
行业动态
产业政策法规
维权援助
个人中心
详情
文本
图像
标题
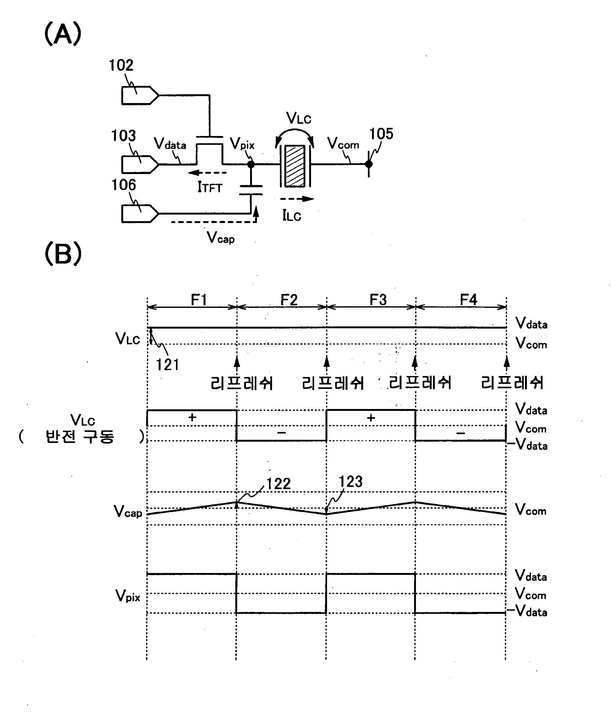
발명의 명칭 액정 표시 장치의 구동 방법
授权日
1900-01-01
公开(公告)号
KR1020120101715A
申请日
2010-11-26
公开(公告)日
2012-09-14
当前申请(专利权)人
가부시키가이샤 한도오따이 에네루기 켄큐쇼
发明人
미야케히로유키
简单同族
JP2011150307A | JP2011150307A5 | JP2015064609A | JP2016200833A | JP2019003222A | JP2019194736A | JP5671323B2 | JP6060142B2 | JP6415491B2 | JP6568283B2 | KR101541474B1 | KR101613701B1 | KR1020120101715A | KR1020140104039A | TW201133463A | TW201602996A | TWI514353B | TWI640975B | US10255868 | US20110157131A1 | US20150255043A1 | US20180190219A1 | US9852703 | WO2011077925A1
简单同族成员数量
24
简单同族被引用专利总数
51
诉讼案件数
0
法律状态/事件
授权
抱歉,您的浏览器不支持PDF预览,请点击链接下载PDF文件