专利数据库
统计分析
产业报告
专利数据监控
产业人才
行业动态
产业政策法规
维权援助
个人中心
详情
文本
图像
标题
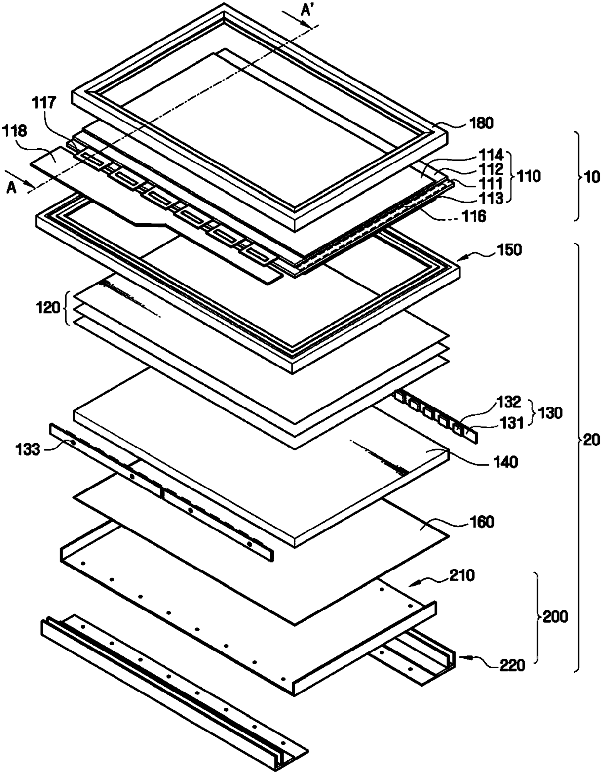
背光组件及具有其的液晶显示器
授权日
1900-01-01
公开(公告)号
CN105093680A
申请日
2010-10-19
公开(公告)日
2015-11-25
当前申请(专利权)人
三星显示有限公司
发明人
崔在昌 | 崔盛植
简单同族
CN102042542A | CN105093680A | CN105093680B | JP2011086627A | JP5599690B2 | KR101698754B1 | KR1020110042574A | US20110090426A1 | US20150370006A1 | US9140849
简单同族成员数量
10
简单同族被引用专利总数
98
诉讼案件数
0
法律状态/事件
授权
抱歉,您的浏览器不支持PDF预览,请点击链接下载PDF文件