专利数据库
统计分析
产业报告
专利数据监控
产业人才
行业动态
产业政策法规
维权援助
个人中心
详情
文本
图像
标题
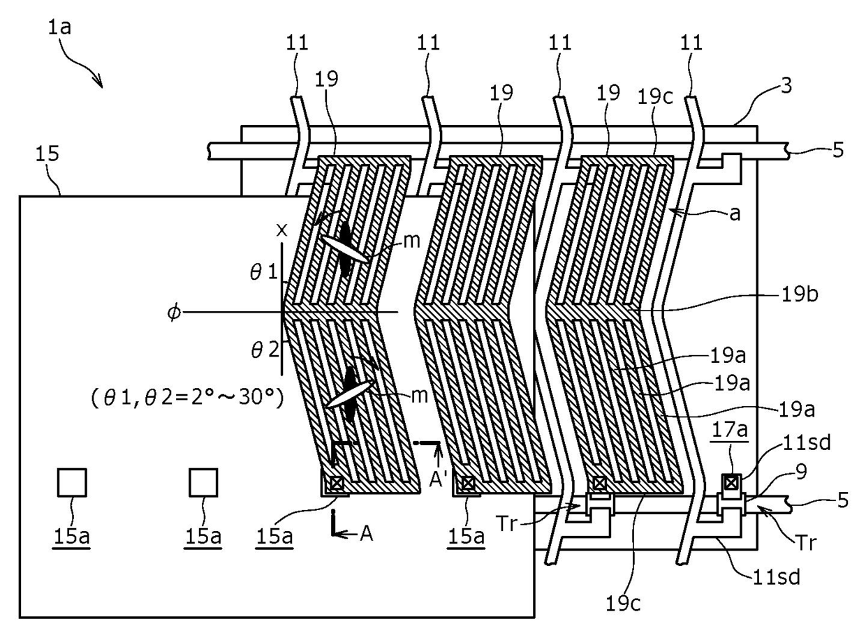
표시 장치
授权日
1900-01-01
公开(公告)号
KR1020090018577A
申请日
2008-08-13
公开(公告)日
2009-02-20
当前申请(专利权)人
재팬 디스프레이 웨스트 인코포레이트
发明人
TANAKA, HIRONAO
简单同族
CN101369074A | CN101369074B | JP2009047817A | JP4475303B2 | KR101487019B1 | KR1020090018577A | TW200916922A | TWI410720B | US20090046234A1 | US20110001914A1 | US8049855 | US8243243
简单同族成员数量
12
简单同族被引用专利总数
56
诉讼案件数
0
法律状态/事件
未缴年费
抱歉,您的浏览器不支持PDF预览,请点击链接下载PDF文件