专利数据库
统计分析
产业报告
专利数据监控
产业人才
行业动态
产业政策法规
维权援助
个人中心
详情
文本
图像
标题
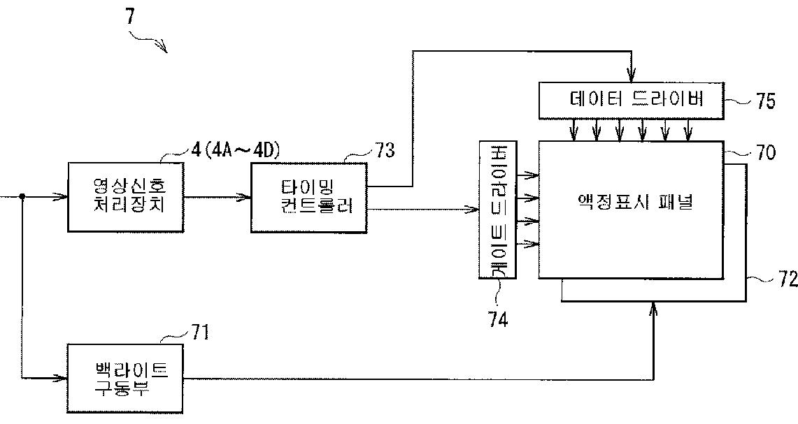
화상 표시 장치
授权日
2015-05-18
公开(公告)号
KR101522736B1
申请日
2008-02-20
公开(公告)日
2015-05-26
当前申请(专利权)人
소니 주식회사
发明人
미야자키신이치로 | 무라카미이치로 | 니시토루
简单同族
CN101543043A | CN101543043B | CN101543064A | CN101543064B | CN101543065A | CN101543065B | EP2018052A1 | EP2018052A4 | EP2018052B1 | EP2059023A1 | EP2059023A4 | EP2059023B1 | EP2059037A1 | EP2059037A4 | EP2059037B1 | JP5187531B2 | JP5212742B2 | JP5294036B2 | JPWO2008102826A1 | JPWO2008102827A1 | JPWO2008102828A1 | KR100988652B1 | KR101456305B1 | KR101522736B1 | KR1020090113751A | KR1020090113752A | KR1020090115653A | US20090184916A1 | US20100013991A1 | US20100034272A1 | US8213504 | US8441468 | US8917767 | WO2008102826A1 | WO2008102827A1 | WO2008102828A1
简单同族成员数量
36
简单同族被引用专利总数
120
诉讼案件数
0
法律状态/事件
授权
抱歉,您的浏览器不支持PDF预览,请点击链接下载PDF文件