专利数据库
统计分析
产业报告
专利数据监控
产业人才
行业动态
产业政策法规
维权援助
个人中心
详情
文本
图像
标题
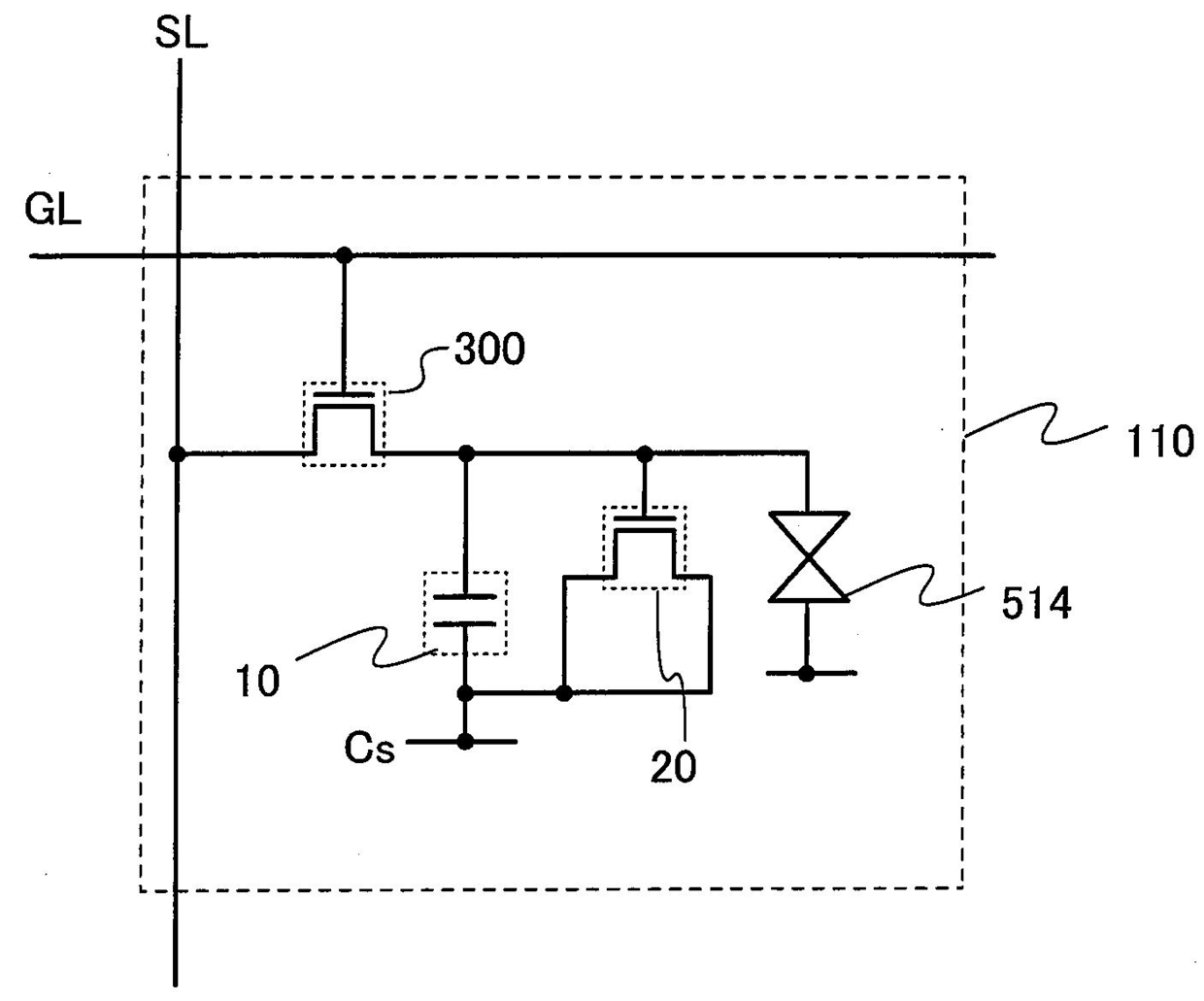
발명의 명칭 표시 장치
授权日
1900-01-01
公开(公告)号
KR1020120105402A
申请日
2012-09-06
公开(公告)日
2012-09-25
当前申请(专利权)人
가부시키가이샤 한도오따이 에네루기 켄큐쇼
发明人
MIYAKE, HIROYUKI
简单同族
JP2012083738A | JP2012083738A5 | JP2012226385A | JP2015158682A | JP2017010040A | JP2018128682A | JP5223023B2 | JP5731935B2 | JP6001127B2 | KR101394105B1 | KR101975742B1 | KR1020120028833A | KR1020120105402A | US20120062811A1 | US20120319107A1 | US8953112 | US9230994
简单同族成员数量
17
简单同族被引用专利总数
90
诉讼案件数
0
法律状态/事件
授权
抱歉,您的浏览器不支持PDF预览,请点击链接下载PDF文件