专利数据库
统计分析
产业报告
专利数据监控
产业人才
行业动态
产业政策法规
维权援助
个人中心
详情
文本
图像
标题
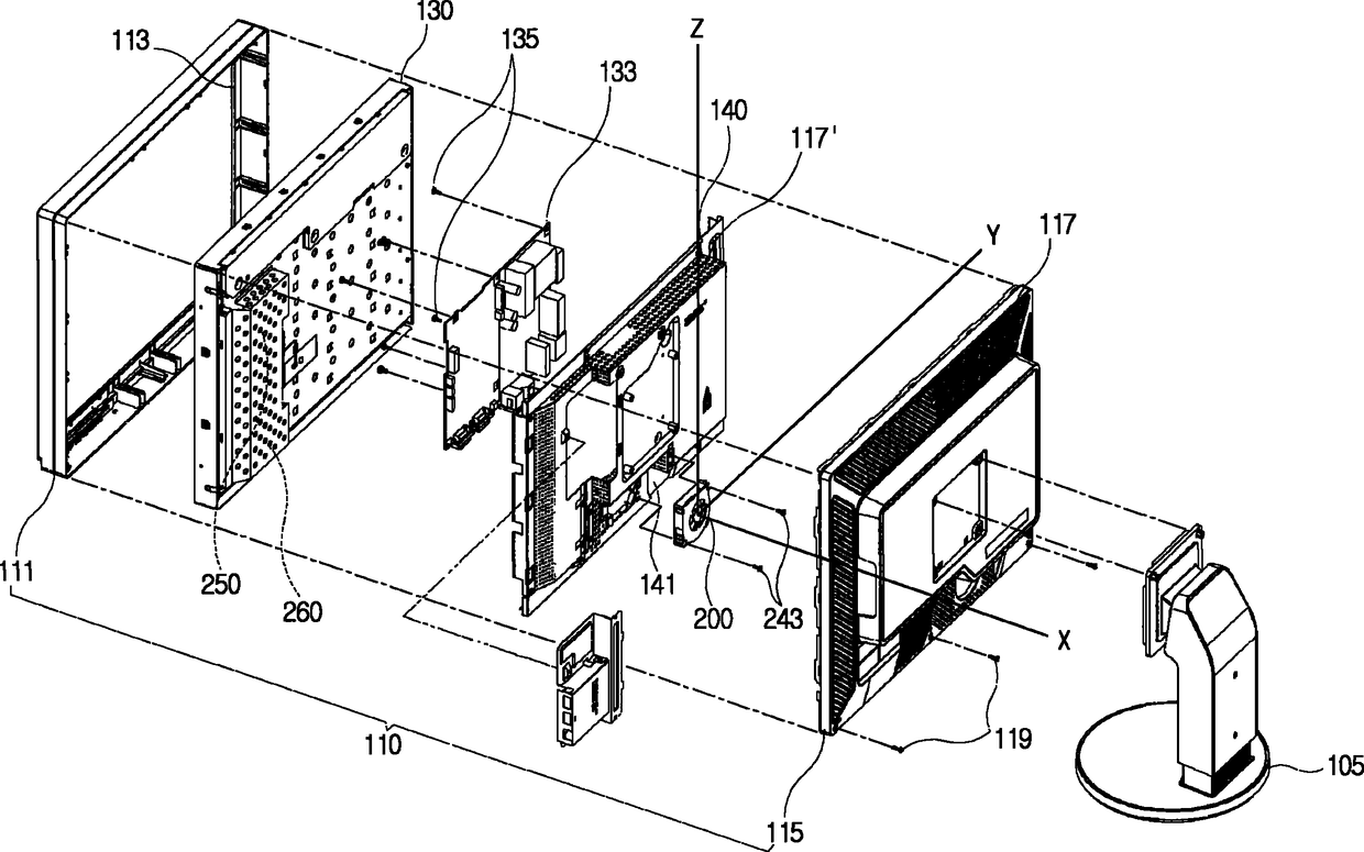
冷却风扇单元和具有该冷却风扇单元的显示装置
授权日
2012-05-16
公开(公告)号
CN101165550B
申请日
2007-08-31
公开(公告)日
2012-05-16
当前申请(专利权)人
三星电子株式会社
发明人
金善珍 | 吴升勋
简单同族
CN101165550A | CN101165550B | EP1914618A2 | EP1914618A3 | EP1914618B1 | EP1914618B9 | EP2615521A1 | EP2615521B1 | KR101315465B1 | KR1020080034376A | US20080089028A1 | US7800706
简单同族成员数量
12
简单同族被引用专利总数
75
诉讼案件数
0
法律状态/事件
授权
抱歉,您的浏览器不支持PDF预览,请点击链接下载PDF文件