专利数据库
统计分析
产业报告
专利数据监控
产业人才
行业动态
产业政策法规
维权援助
个人中心
详情
文本
图像
标题
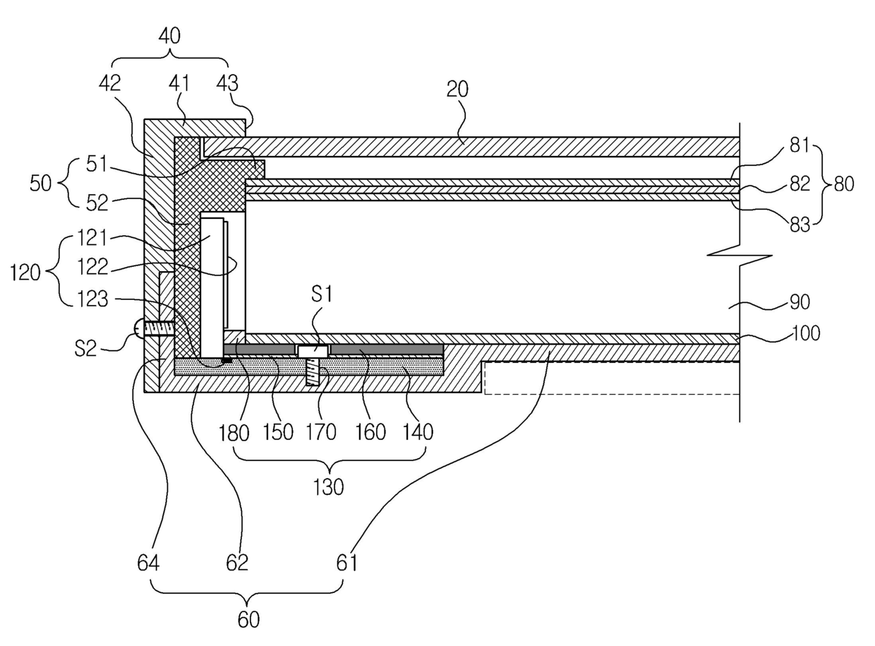
발명의 명칭 액정 표시 장치 및 이에 구비되는 엘이디 모듈
授权日
1900-01-01
公开(公告)号
KR1020120105766A
申请日
2011-03-16
公开(公告)日
2012-09-26
当前申请(专利权)人
삼성전자주식회사
发明人
최석주 | 조건호 | 권용훈 | 이계훈 | 허길태 | 이영민
简单同族
AT13143U2 | AT13143U3 | AT13146U2 | AT13146U3 | AT13146U8 | AT13197U2 | AT13197U3 | CN102681234A | CN102681234B | CN104950499A | DE202012008888U1 | DE202012008890U1 | DE202012008891U1 | EP2500765A1 | EP2500765B1 | EP2620791A1 | EP2620791B1 | ES2428731T3 | KR101295358B1 | KR1020120105766A | SK500812012U1 | SK500822012U1 | SK500832012U1 | SK7946Y1 | SK7956Y1 | SK7964Y1 | US20120236231A1 | US20120281165A1 | US20130100373A1 | US8358387 | US8665398 | US8773617 | USR48053
简单同族成员数量
33
简单同族被引用专利总数
73
诉讼案件数
0
法律状态/事件
授权
抱歉,您的浏览器不支持PDF预览,请点击链接下载PDF文件