专利数据库
统计分析
产业报告
专利数据监控
产业人才
行业动态
产业政策法规
维权援助
个人中心
详情
文本
图像
标题
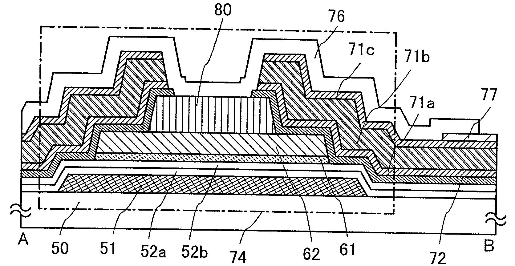
액정 표시장치
授权日
1900-01-01
公开(公告)号
KR1020090009728A
申请日
2008-07-17
公开(公告)日
2009-01-23
当前申请(专利权)人
가부시키가이샤 한도오따이 에네루기 켄큐쇼
发明人
야마자키순페이
简单同族
CN101350367A | CN101350367B | CN102184969A | CN102184969B | CN103064222A | CN103064222B | CN103066113A | CN103066113B | JP2009049385A | JP2009049385A5 | JP2014149545A | JP2016006549A | JP6117884B2 | KR101581171B1 | KR1020090009728A | TW200921230A | TW201437729A | TW201608318A | TWI464510B | TWI521292B | TWI575293B | US20090021664A1 | US20110198595A1 | US20140204304A1 | US7940345 | US8896778 | US9142632
简单同族成员数量
27
简单同族被引用专利总数
94
诉讼案件数
0
法律状态/事件
未缴年费
抱歉,您的浏览器不支持PDF预览,请点击链接下载PDF文件