专利数据库
统计分析
产业报告
专利数据监控
产业人才
行业动态
产业政策法规
维权援助
个人中心
详情
文本
图像
标题
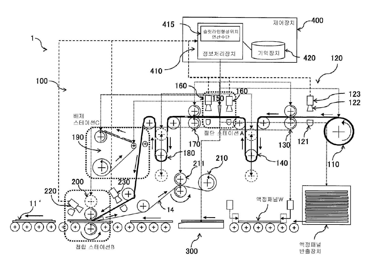
액정 표시 소자의 연속 제조 방법 및 장치
授权日
2011-01-21
公开(公告)号
KR101011449B1
申请日
2010-06-03
公开(公告)日
2011-01-28
当前申请(专利权)人
닛토덴코 가부시키가이샤
发明人
기무라코우지 | 기타다카즈오 | 시마노에후미히토 | 유라토모카즈 | 고시오사토루 | 나카조노타쿠야 | 오사와데루아키
简单同族
AT533623T | CN102043279A | CN102043279B | EP2325007A1 | EP2325007B1 | JP2011085628A | JP4503689B1 | KR101011449B1 | PL2325007T3 | PL2325007T4 | TW201113598A | TWI341416B | US20110083790A1 | US7976657
简单同族成员数量
14
简单同族被引用专利总数
54
诉讼案件数
0
法律状态/事件
授权
抱歉,您的浏览器不支持PDF预览,请点击链接下载PDF文件