专利数据库
统计分析
产业报告
专利数据监控
产业人才
行业动态
产业政策法规
维权援助
个人中心
详情
文本
图像
标题
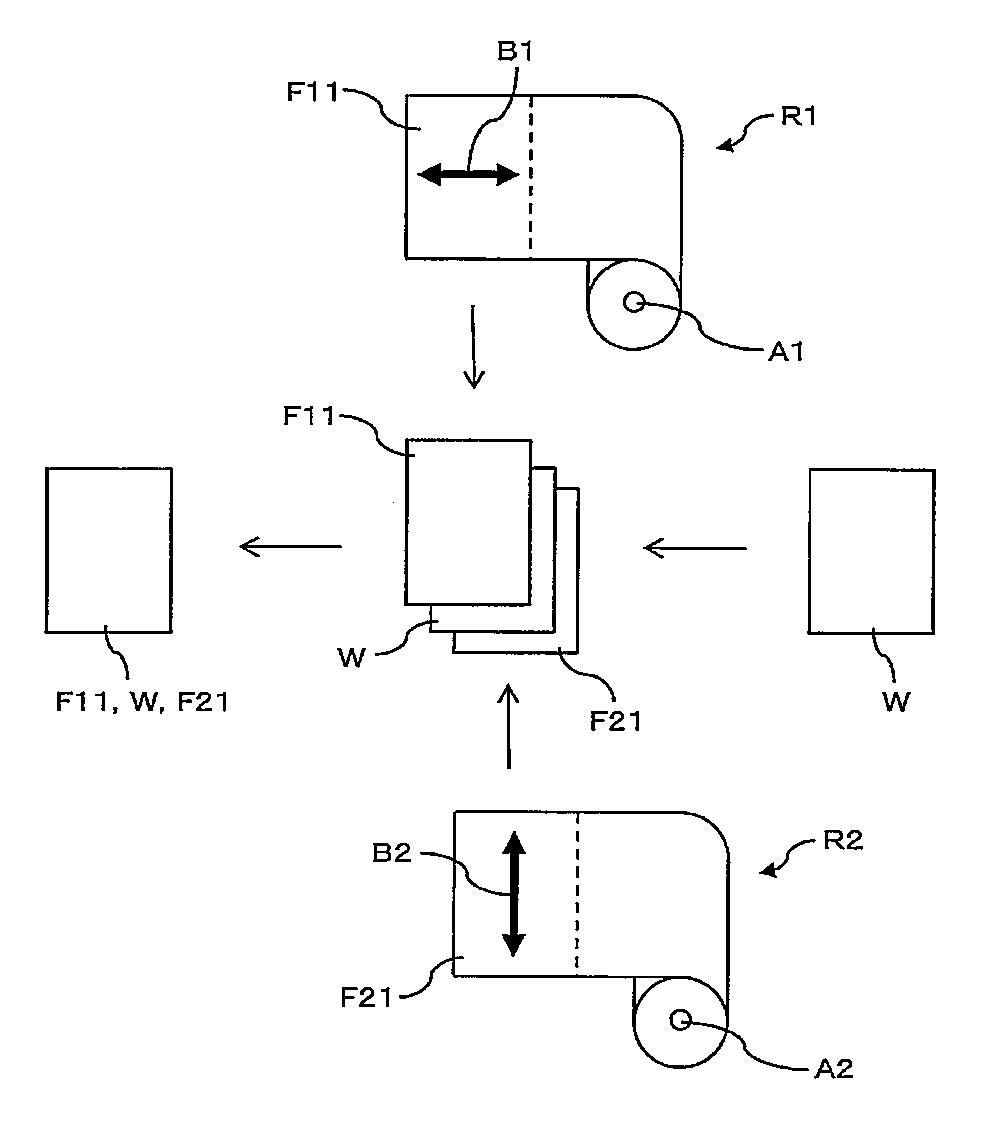
발명의 명칭 광학 표시 장치 제조 시스템 및 광학 표시 장치 제조 방법
授权日
2016-01-11
公开(公告)号
KR101586101B1
申请日
2009-04-13
公开(公告)日
2016-01-15
当前申请(专利权)人
닛토덴코 가부시키가이샤
发明人
고시오사또루 | 나까조노다꾸야 | 기따다가즈오 | 유라도모까즈 | 다께다겐따로오
简单同族
CN101978406A | CN101978406B | EP2270770A1 | JP2009276757A | JP2009276757A5 | JP4855493B2 | KR101586101B1 | KR1020110007085A | TW200951580A | TWI459096B | US20110025958A1 | US8427625 | WO2009128416A1
简单同族成员数量
13
简单同族被引用专利总数
91
诉讼案件数
0
法律状态/事件
授权
抱歉,您的浏览器不支持PDF预览,请点击链接下载PDF文件