专利数据库
统计分析
产业报告
专利数据监控
产业人才
行业动态
产业政策法规
维权援助
个人中心
详情
文本
图像
标题
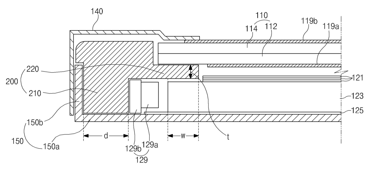
액정표시장치
授权日
1900-01-01
公开(公告)号
KR1020110059305A
申请日
2009-11-27
公开(公告)日
2011-06-02
当前申请(专利权)人
엘지디스플레이 주식회사
发明人
지병화 | 단경식 | 이세민 | 박형수
简单同族
CN102081259A | CN102081259B | KR101294749B1 | KR1020110059305A | US20110128463A1 | US8730425
简单同族成员数量
6
简单同族被引用专利总数
65
诉讼案件数
0
法律状态/事件
授权
抱歉,您的浏览器不支持PDF预览,请点击链接下载PDF文件