专利数据库
统计分析
产业报告
专利数据监控
产业人才
行业动态
产业政策法规
维权援助
个人中心
详情
文本
图像
标题
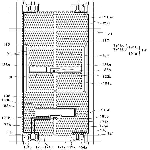
액정 표시 장치
授权日
1900-01-01
公开(公告)号
KR1020090103461A
申请日
2008-03-28
公开(公告)日
2009-10-01
当前申请(专利权)人
삼성디스플레이 주식회사
发明人
정미혜 | 손지원 | 유재진 | 채종철
简单同族
CN101546073A | CN101546073B | CN102692775A | CN102692775B | EP2105786A1 | EP2105786B1 | KR1020090103461A | US20090244425A1 | US20110317119A1 | US20120314174A1 | US20130265517A1 | US20140063395A1 | US20150062516A1 | US20160246137A1 | US20180004049A1 | US8035787 | US8253908 | US8462305 | US8610866 | US8909020 | US9360717 | US9759962
简单同族成员数量
22
简单同族被引用专利总数
127
诉讼案件数
0
法律状态/事件
驳回
抱歉,您的浏览器不支持PDF预览,请点击链接下载PDF文件