专利数据库
统计分析
产业报告
专利数据监控
产业人才
行业动态
产业政策法规
维权援助
个人中心
详情
文本
图像
标题
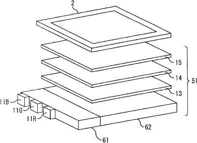
背光装置及液晶显示器
授权日
1900-01-01
公开(公告)号
CN1705847A
申请日
2004-09-24
公开(公告)日
2005-12-07
当前申请(专利权)人
索尼株式会社
发明人
畠中正斗 | 横田和广 | 和田春明 | 奥贵司
简单同族
CN1705847A | EP1669666A1 | EP1669666A4 | HK1081256A | JP2005107181A | KR1020060066048A | TW200523637A | TWI262340B | US20070064445A1 | US20080198570A1 | US7413331 | US7604362 | WO2005033579A1
简单同族成员数量
13
简单同族被引用专利总数
66
诉讼案件数
0
法律状态/事件
驳回 | 复审
抱歉,您的浏览器不支持PDF预览,请点击链接下载PDF文件