专利数据库
统计分析
产业报告
专利数据监控
产业人才
行业动态
产业政策法规
维权援助
个人中心
详情
文本
图像
标题
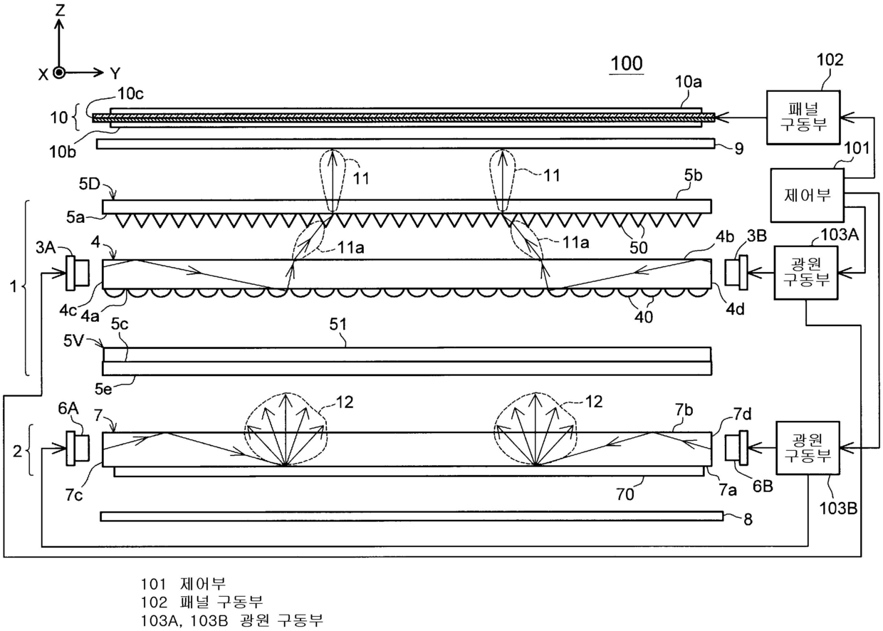
액정 표시 장치
授权日
2013-10-08
公开(公告)号
KR101318497B1
申请日
2010-11-29
公开(公告)日
2013-10-16
当前申请(专利权)人
미쓰비시덴키 가부시키가이샤
发明人
니시타니레나 | 사사가와도모히로 | 니이쿠라에이지 | 구와타무네하루 | 고지마구니코
简单同族
CN102640039A | DE112010004660T5 | JPWO2011067911A1 | KR101318497B1 | KR1020120078745A | TW201202799A | US20120235891A1 | WO2011067911A1
简单同族成员数量
8
简单同族被引用专利总数
102
诉讼案件数
0
法律状态/事件
未缴年费
抱歉,您的浏览器不支持PDF预览,请点击链接下载PDF文件