专利数据库
统计分析
产业报告
专利数据监控
产业人才
行业动态
产业政策法规
维权援助
个人中心
详情
文本
图像
标题
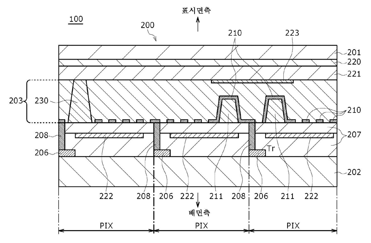
액정 표시 장치
授权日
1900-01-01
公开(公告)号
KR1020100087660A
申请日
2010-01-26
公开(公告)日
2010-08-05
当前申请(专利权)人
재팬 디스프레이 웨스트 인코포레이트
发明人
미즈하시히로시 | 야마우찌유꼬 | 고이또다께오 | 다나까쯔또무 | 하야시슈지 | 나까니시다까유끼 | 나까지마요시하루
简单同族
CN101788734A | CN101788734B | JP2010175595A | JP4893759B2 | KR1020100087660A | TW201042318A | TWI412823B | US20100188347A1 | US8508484
简单同族成员数量
9
简单同族被引用专利总数
56
诉讼案件数
0
法律状态/事件
撤回
抱歉,您的浏览器不支持PDF预览,请点击链接下载PDF文件