专利数据库
统计分析
产业报告
专利数据监控
产业人才
行业动态
产业政策法规
维权援助
个人中心
详情
文本
图像
标题
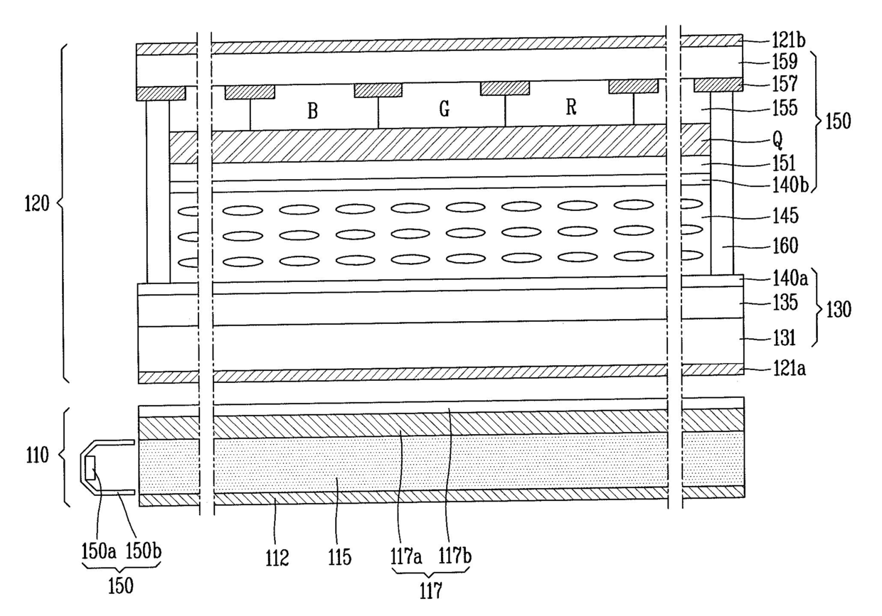
발명의 명칭 광변환층을 포함한 액정표시패널 및 액정표시장치
授权日
2017-11-01
公开(公告)号
KR101794653B1
申请日
2011-07-05
公开(公告)日
2017-11-08
当前申请(专利权)人
엘지디스플레이 주식회사
发明人
신종석 | 진현석 | 이미경 | 박경호
简单同族
CN102866535A | CN102866535B | JP2013015812A | KR101794653B1 | KR1020130005175A | US20130010229A1 | US9170453
简单同族成员数量
7
简单同族被引用专利总数
116
诉讼案件数
0
法律状态/事件
授权
抱歉,您的浏览器不支持PDF预览,请点击链接下载PDF文件