专利数据库
统计分析
产业报告
专利数据监控
产业人才
行业动态
产业政策法规
维权援助
个人中心
详情
文本
图像
标题
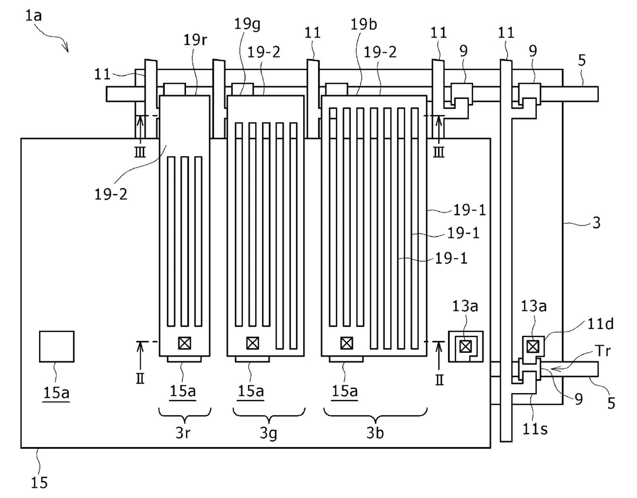
표시 장치
授权日
1900-01-01
公开(公告)号
KR1020090045042A
申请日
2008-10-29
公开(公告)日
2009-05-07
当前申请(专利权)人
가부시키가이샤 재팬 디스프레이
发明人
다나카히로나오 | 야마구치히데마사 | 사쿠라이요시히로
简单同族
CN101424834A | CN101424834B | JP2009109820A | JP5079454B2 | KR101496229B1 | KR1020090045042A | TW200923521A | TWI390308B | US20090109358A1 | US8502940
简单同族成员数量
10
简单同族被引用专利总数
74
诉讼案件数
0
法律状态/事件
授权
抱歉,您的浏览器不支持PDF预览,请点击链接下载PDF文件