专利数据库
统计分析
产业报告
专利数据监控
产业人才
行业动态
产业政策法规
维权援助
个人中心
详情
文本
图像
标题
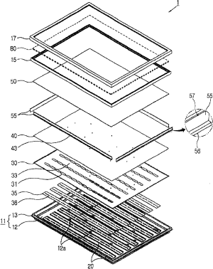
背光单元及具有该背光单元的液晶显示装置
授权日
2009-04-15
公开(公告)号
CN100478761C
申请日
2005-07-19
公开(公告)日
2009-04-15
当前申请(专利权)人
三星电子株式会社
发明人
李侑燮 | 卢知焕 | 金元年
简单同族
CN100478761C | CN101057176A | EP1815292A1 | EP1815292A4 | KR100609057B1 | KR1020060055579A | US20060104080A1 | US7275852 | WO2006054821A1
简单同族成员数量
9
简单同族被引用专利总数
105
诉讼案件数
0
法律状态/事件
授权
抱歉,您的浏览器不支持PDF预览,请点击链接下载PDF文件