专利数据库
统计分析
产业报告
专利数据监控
产业人才
行业动态
产业政策法规
维权援助
个人中心
详情
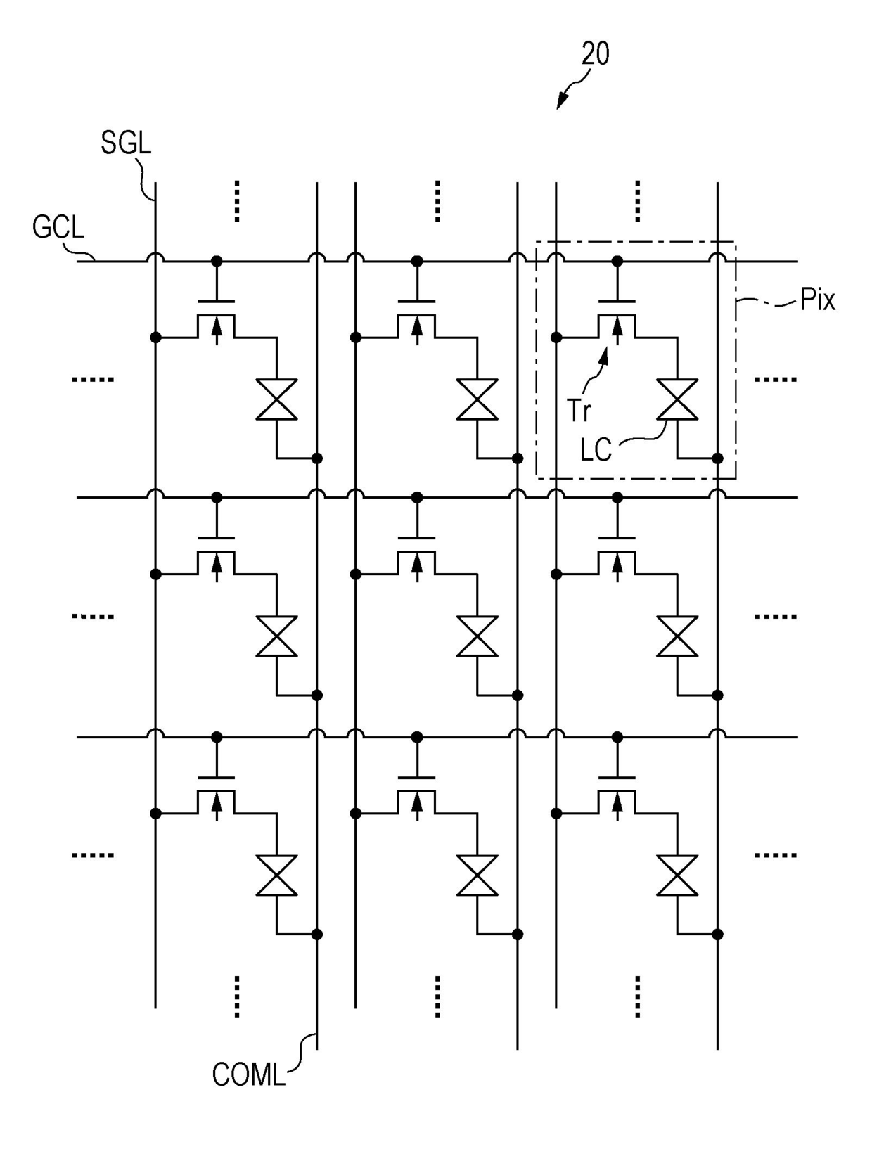
文本
图像
标题
터치 검출 기능을 포함하는 표시 장치, 구동 방법 및 전자 기기
授权日
1900-01-01
公开(公告)号
KR1020110120217A
申请日
2011-04-20
公开(公告)日
2011-11-03
当前申请(专利权)人
가부시키가이샤 재팬 디스프레이
发明人
노구치코지 | 기다요시토시
简单同族
CN102236464A | CN102236464B | JP2011233018A | JP5455126B2 | KR101747436B1 | KR1020110120217A | TW201211852A | TWI492107B | US10133437 | US10324579 | US10514810 | US20110267293A1 | US20180011570A1 | US20180150159A1 | US20190050084A1 | US20190250743A1 | US9804711 | US9927937
简单同族成员数量
18
简单同族被引用专利总数
187
诉讼案件数
0
法律状态/事件
授权
抱歉,您的浏览器不支持PDF预览,请点击链接下载PDF文件