专利数据库
统计分析
产业报告
专利数据监控
产业人才
行业动态
产业政策法规
维权援助
个人中心
详情
文本
图像
标题
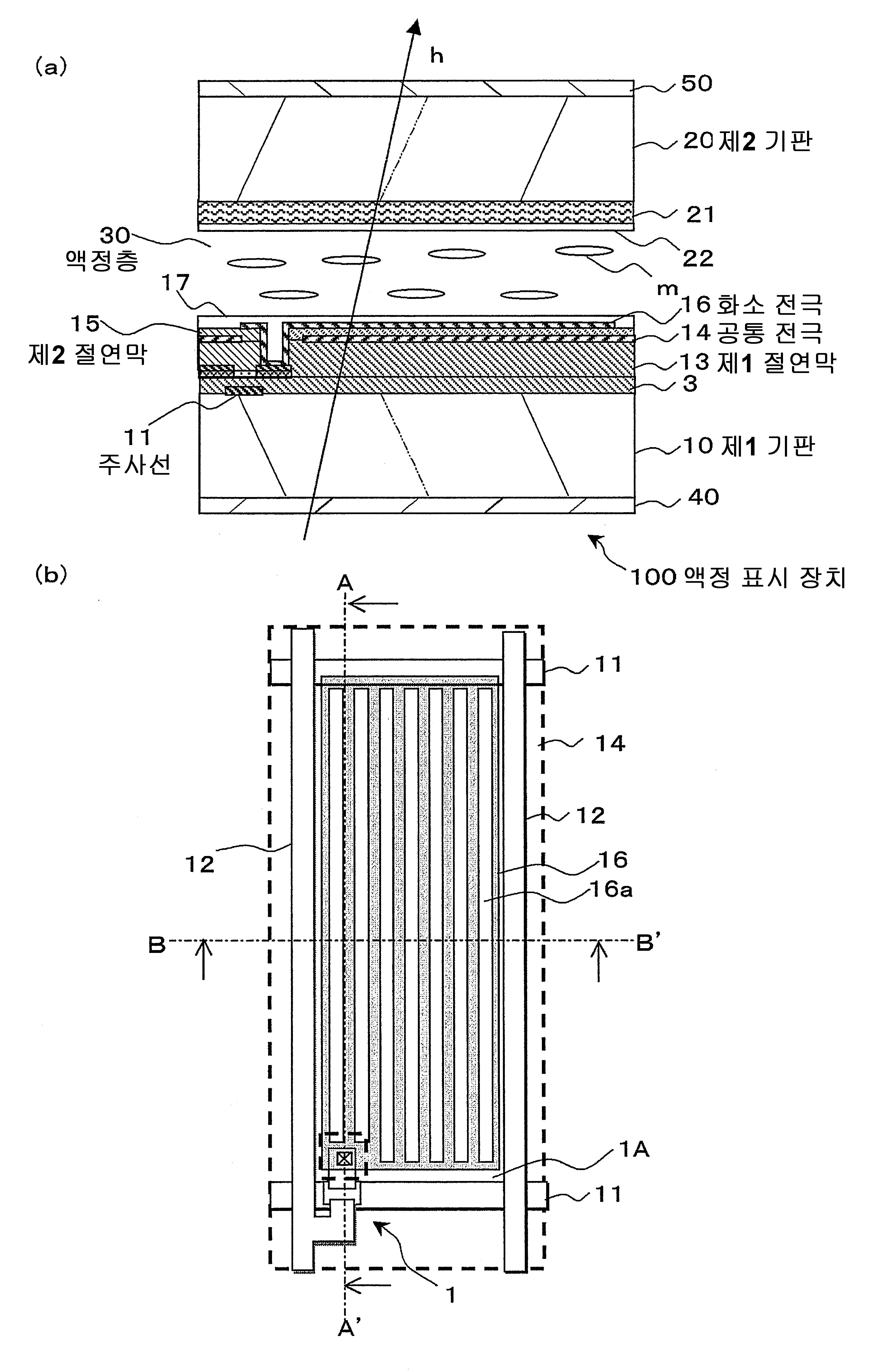
발명의 명칭 액정 표시 소자 및 표시 장치
授权日
2016-03-02
公开(公告)号
KR101600912B1
申请日
2014-12-01
公开(公告)日
2016-03-21
当前申请(专利权)人
가부시키가이샤 재팬 디스프레이
发明人
다나카히로나오 | 노구치고지 | 가나야야스히로 | 나카지마다이키 | 노즈다이스케 | 이노마스미쓰
简单同族
CN100592183C | CN101256324A | CN101750818A | CN101750818B | JP2008209686A | JP4544251B2 | KR101600912B1 | KR1020080079594A | KR1020150001705A | TW200900822A | TWI380103B | US20080204648A1 | US7920241
简单同族成员数量
13
简单同族被引用专利总数
70
诉讼案件数
0
法律状态/事件
授权
抱歉,您的浏览器不支持PDF预览,请点击链接下载PDF文件