专利数据库
统计分析
产业报告
专利数据监控
产业人才
行业动态
产业政策法规
维权援助
个人中心
详情
文本
图像
标题
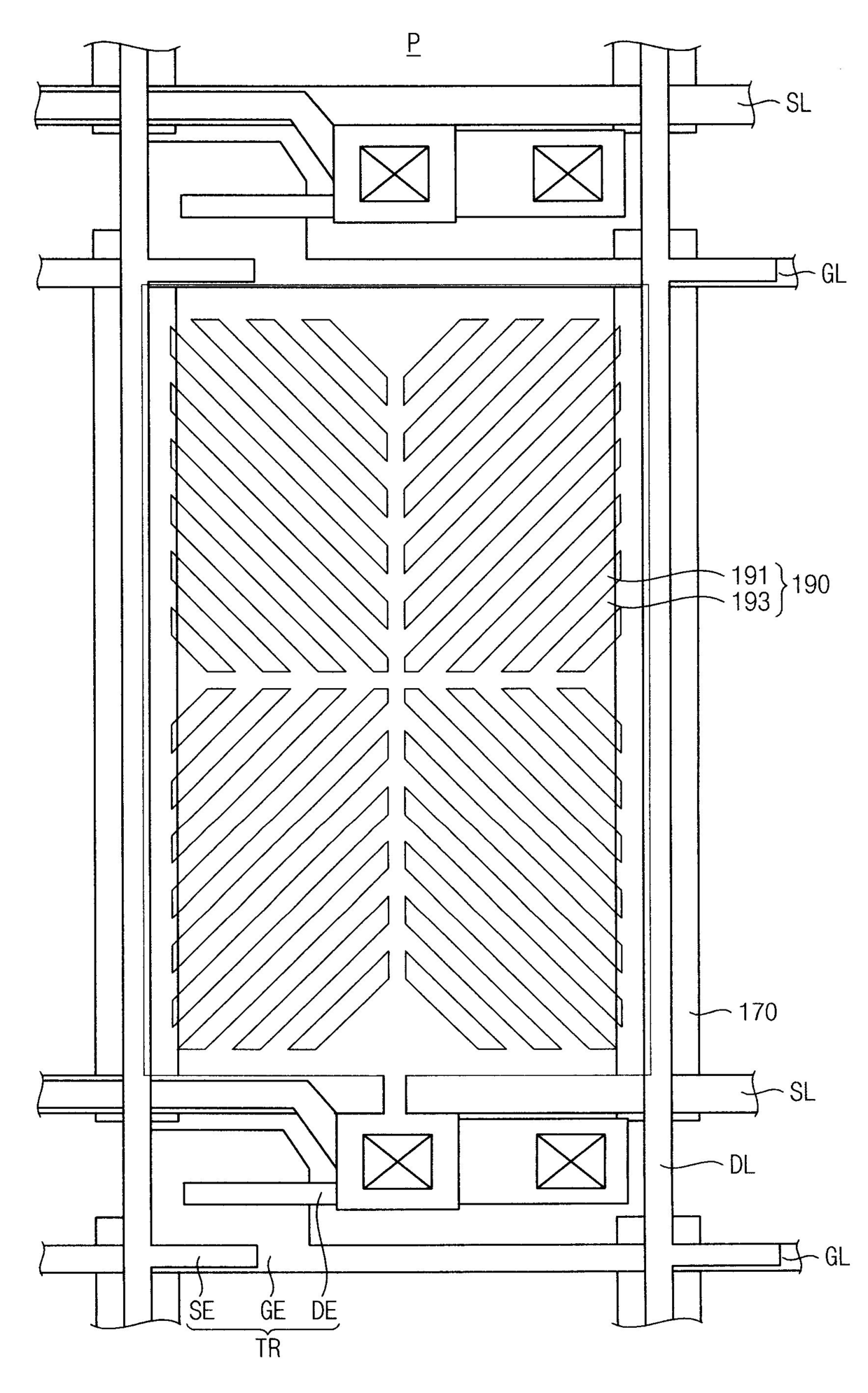
액정 표시 장치 및 이의 제조 방법
授权日
1900-01-01
公开(公告)号
KR1020100054344A
申请日
2008-11-14
公开(公告)日
2010-05-25
当前申请(专利权)人
삼성디스플레이 주식회사
发明人
김수정 | 유혜란 | 엄윤성 | 유재진 | 오근찬 | 손정호
简单同族
KR1020100054344A | US20100123845A1 | US8077269
简单同族成员数量
3
简单同族被引用专利总数
50
诉讼案件数
0
法律状态/事件
驳回 | 复审
抱歉,您的浏览器不支持PDF预览,请点击链接下载PDF文件