专利数据库
统计分析
产业报告
专利数据监控
产业人才
行业动态
产业政策法规
维权援助
个人中心
详情
文本
图像
标题
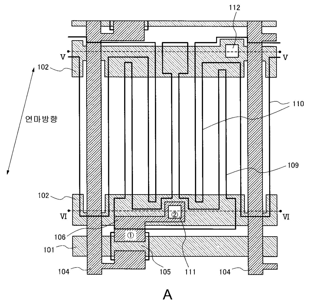
발명의 명칭 액티브 매트릭스 액정 디스플레이 장치 및 그 제조 방법
授权日
2014-07-07
公开(公告)号
KR101419060B1
申请日
2008-07-18
公开(公告)日
2014-07-11
当前申请(专利权)人
엔엘티 테크놀로지 가부시키가이샤
发明人
콘노타카유키 | 니시다신이치 | 스즈키테루아키 | 노가미유스케
简单同族
CN101122723A | CN101122723B | CN102096260A | CN102096260B | JP2008065300A | KR100934524B1 | KR101419060B1 | KR1020080014679A | KR1020080070805A | TW200809368A | TWI390318B | US20080036930A1 | US20100188634A1 | US20110234935A1 | US7728940 | US7986390 | US8411242
简单同族成员数量
17
简单同族被引用专利总数
68
诉讼案件数
0
法律状态/事件
未缴年费
抱歉,您的浏览器不支持PDF预览,请点击链接下载PDF文件