专利数据库
统计分析
产业报告
专利数据监控
产业人才
行业动态
产业政策法规
维权援助
个人中心
详情
文本
图像
标题
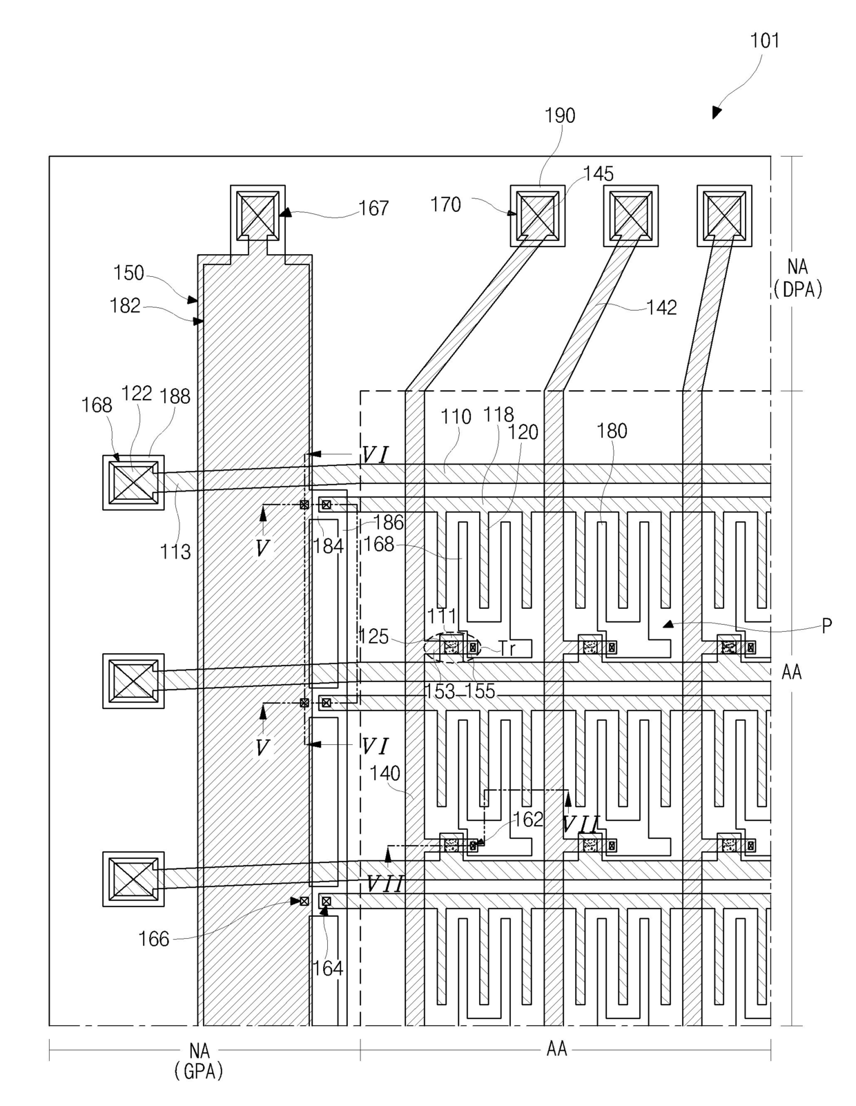
발명의 명칭 횡전계형 액정표시장치용 어레이 기판 및 그 제조 방법
授权日
2013-08-14
公开(公告)号
KR101298547B1
申请日
2008-08-07
公开(公告)日
2013-08-22
当前申请(专利权)人
엘지디스플레이 주식회사
发明人
LEE, YOUNG HUN
简单同族
CN101644864A | CN101644864B | KR101298547B1 | KR1020100018864A | US20100033664A1 | US7952677
简单同族成员数量
6
简单同族被引用专利总数
52
诉讼案件数
0
法律状态/事件
授权
抱歉,您的浏览器不支持PDF预览,请点击链接下载PDF文件