专利数据库
统计分析
产业报告
专利数据监控
产业人才
行业动态
产业政策法规
维权援助
个人中心
详情
文本
图像
标题
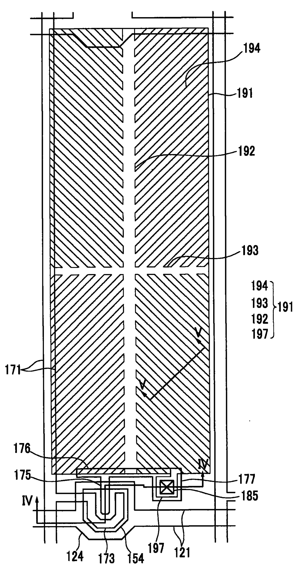
液晶显示器
授权日
1900-01-01
公开(公告)号
CN102236216A
申请日
2011-04-21
公开(公告)日
2011-11-09
当前申请(专利权)人
三星显示有限公司
发明人
郑然鹤 | 李熙焕 | 吴根灿 | 柳在镇 | 严允成
简单同族
CN102236216A | CN102236216B | JP2011227443A | JP2015028667A | JP5674426B2 | JP5909539B2 | KR101808213B1 | KR1020110117553A | US20110260957A1 | US9176344
简单同族成员数量
10
简单同族被引用专利总数
68
诉讼案件数
0
法律状态/事件
授权 | 权利转移
抱歉,您的浏览器不支持PDF预览,请点击链接下载PDF文件