专利数据库
统计分析
产业报告
专利数据监控
产业人才
行业动态
产业政策法规
维权援助
个人中心
详情
文本
图像
标题
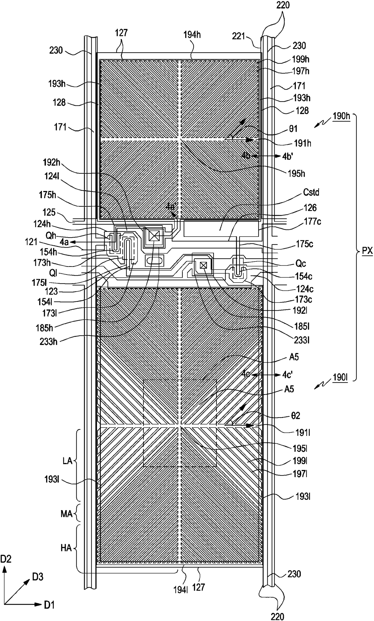
液晶显示面板
授权日
1900-01-01
公开(公告)号
CN105842938A
申请日
2011-03-28
公开(公告)日
2016-08-10
当前申请(专利权)人
三星显示有限公司
发明人
催京植 | 朴明在 | 朴旻昱 | 金性勋 | 李角锡 | 申宇庭 | 李俊协 | 吴根灿 | 金相均 | 金寿桢 | 朴乘范 | 郑然鹤
简单同族
CN105842938A | CN105842938B | JP2011221505A | JP2011221505A5 | JP6049983B2 | KR101902984B1 | KR1020110111227A | KR1020180107771A | KR102056779B1
简单同族成员数量
9
简单同族被引用专利总数
78
诉讼案件数
0
法律状态/事件
授权
抱歉,您的浏览器不支持PDF预览,请点击链接下载PDF文件