专利数据库
统计分析
产业报告
专利数据监控
产业人才
行业动态
产业政策法规
维权援助
个人中心
详情
文本
图像
标题
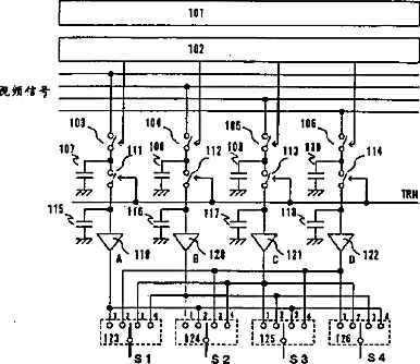
液晶显示装置和驱动液晶显示装置的方法
授权日
1900-01-01
公开(公告)号
CN1490654A
申请日
2003-09-02
公开(公告)日
2004-04-21
当前申请(专利权)人
株式会社半导体能源研究所 | 夏普公司
发明人
小山润 | 盐野入丰 | 三宅博之 | 平山泰弘 | 李副烈
简单同族
CN100437304C | CN1490654A | JP2004094058A | JP2004094058A5 | KR101012604B1 | KR1020040020844A | US20040041764A1 | US7268756
简单同族成员数量
8
简单同族被引用专利总数
83
诉讼案件数
0
法律状态/事件
未缴年费
抱歉,您的浏览器不支持PDF预览,请点击链接下载PDF文件