专利数据库
统计分析
产业报告
专利数据监控
产业人才
行业动态
产业政策法规
维权援助
个人中心
详情
文本
图像
标题
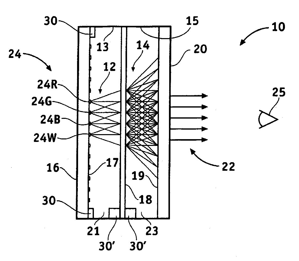
색도가 보상된 후면발광 디스플레이
授权日
2012-09-14
公开(公告)号
KR101184751B1
申请日
2005-05-24
公开(公告)日
2012-09-20
当前申请(专利权)人
허니웰 인터내셔널 인코포레이티드
发明人
컬브라이언디. | 로닝에릭디. | 데이비데니스엠.
简单同族
EP1749292A1 | JP2008500583A | JP5065015B2 | KR101184751B1 | KR1020070022727A | US20050259439A1 | US7339332 | WO2005116972A1
简单同族成员数量
8
简单同族被引用专利总数
92
诉讼案件数
0
法律状态/事件
授权
抱歉,您的浏览器不支持PDF预览,请点击链接下载PDF文件