专利数据库
统计分析
产业报告
专利数据监控
产业人才
行业动态
产业政策法规
维权援助
个人中心
详情
文本
图像
标题
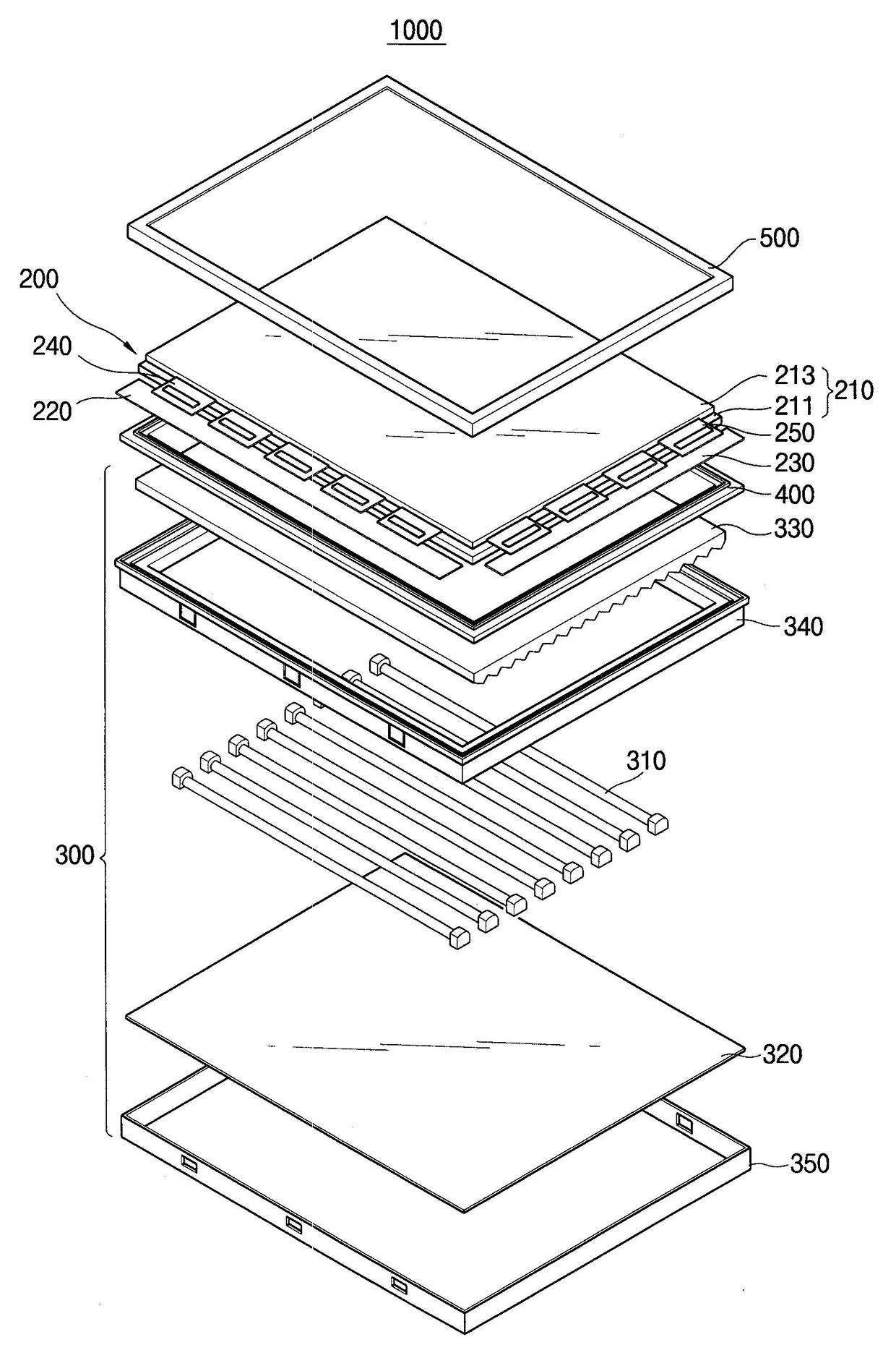
백 라이트 어셈블리 및 이를 갖는 직하형 액정 표시 장치
授权日
2009-05-08
公开(公告)号
KR100897745B1
申请日
2002-06-26
公开(公告)日
2009-05-15
当前申请(专利权)人
삼성전자주식회사
发明人
강성용 | 이정환 | 박종대 | 강문식 | 이근우 | 윤상혁 | 유형석 | 정재호 | 김규석
简单同族
CN100380203C | CN1467547A | JP2004031312A | JP4178053B2 | KR100897745B1 | KR1020040000974A | TW200400385A | TWI284229B | US20040001330A1 | US20060203517A1 | US7063448
简单同族成员数量
11
简单同族被引用专利总数
94
诉讼案件数
0
法律状态/事件
授权 | 权利转移
抱歉,您的浏览器不支持PDF预览,请点击链接下载PDF文件