专利数据库
统计分析
产业报告
专利数据监控
产业人才
行业动态
产业政策法规
维权援助
个人中心
详情
文本
图像
标题
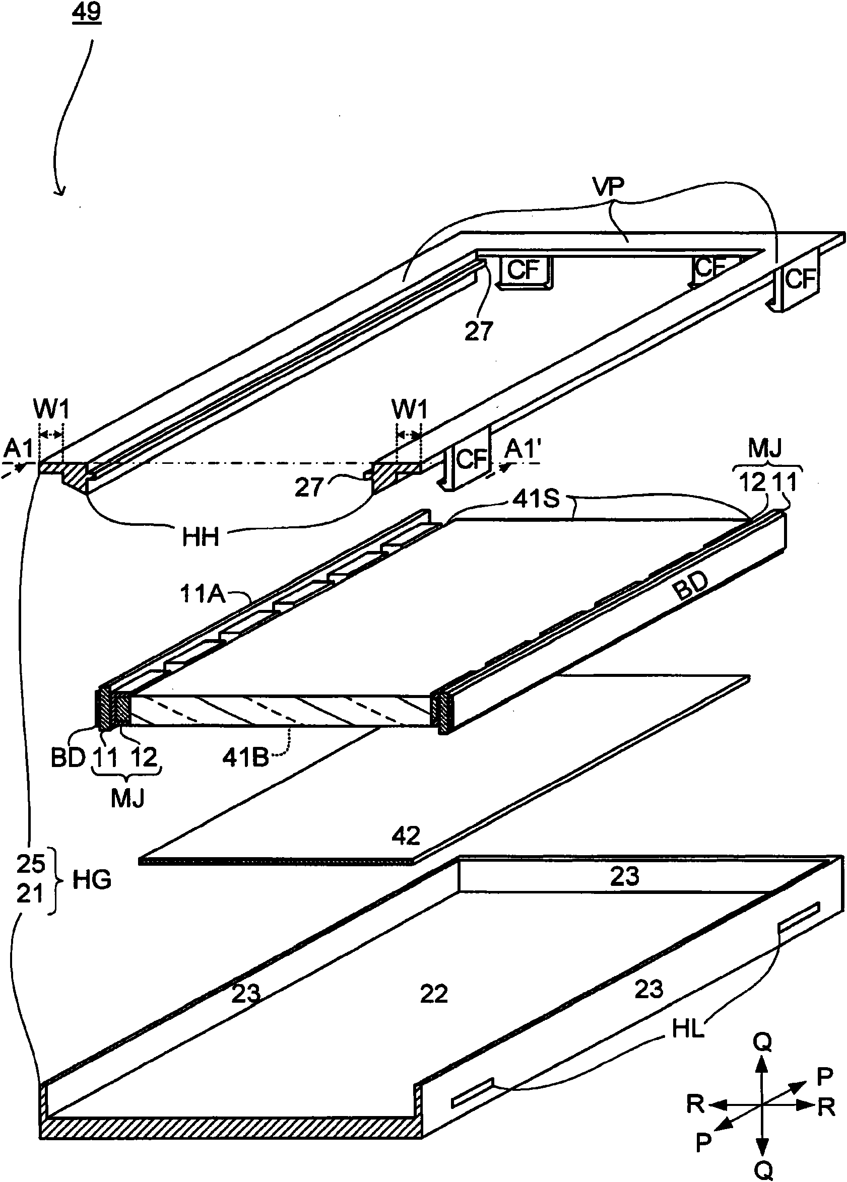
背光单元和液晶显示装置
授权日
2014-04-16
公开(公告)号
CN101939585B
申请日
2008-11-04
公开(公告)日
2014-04-16
当前申请(专利权)人
夏普株式会社
发明人
滨田哲也
简单同族
BRPI0822500A2 | CN101939585A | CN101939585B | US20110090422A1 | US8368843 | WO2009118942A1
简单同族成员数量
6
简单同族被引用专利总数
54
诉讼案件数
0
法律状态/事件
授权
抱歉,您的浏览器不支持PDF预览,请点击链接下载PDF文件