专利数据库
统计分析
产业报告
专利数据监控
产业人才
行业动态
产业政策法规
维权援助
个人中心
详情
文本
图像
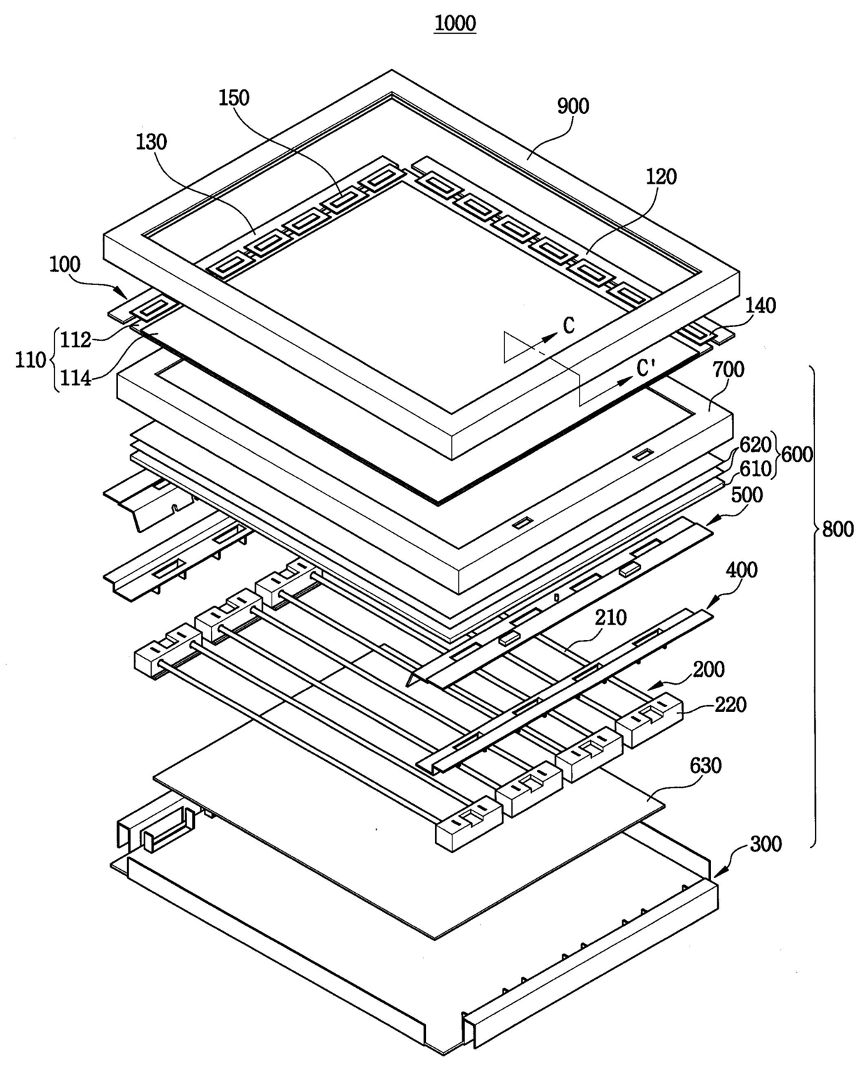
标题
백라이트 어셈블리 및 이를 갖는 액정표시장치
授权日
2010-05-18
公开(公告)号
KR100959785B1
申请日
2003-09-16
公开(公告)日
2010-05-28
当前申请(专利权)人
삼성전자주식회사
发明人
KIM,YONGIL
简单同族
CN100533221C | CN1607433A | JP2005093435A | JP4689219B2 | KR100959785B1 | KR1020050027623A | TW200532325A | US20050057946A1 | US7223003
简单同族成员数量
9
简单同族被引用专利总数
87
诉讼案件数
0
法律状态/事件
未缴年费 | 权利转移
抱歉,您的浏览器不支持PDF预览,请点击链接下载PDF文件