专利数据库
统计分析
产业报告
专利数据监控
产业人才
行业动态
产业政策法规
维权援助
个人中心
详情
文本
图像
标题
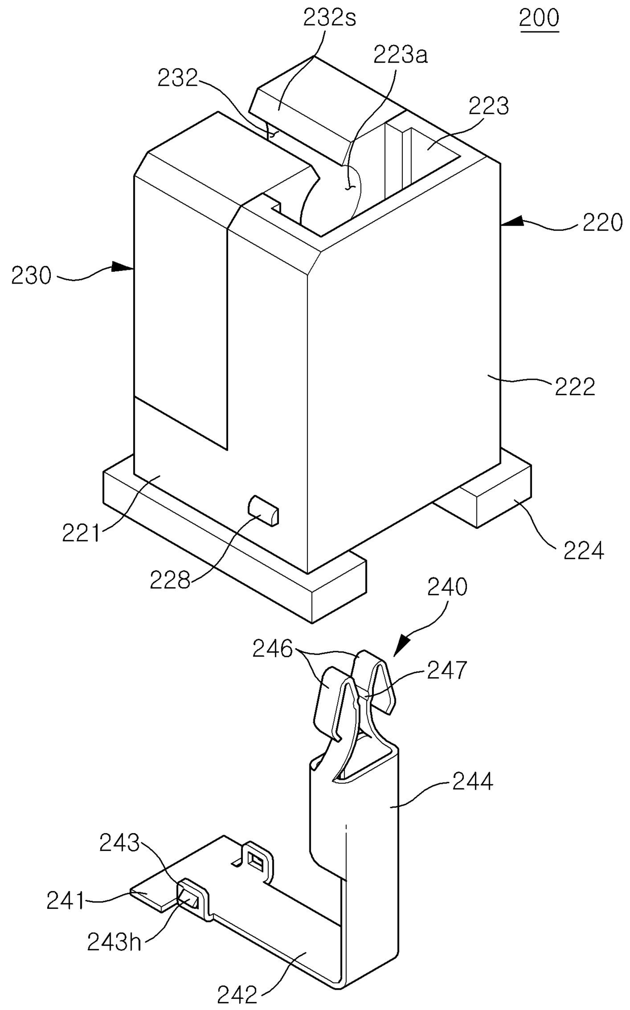
램프 지지 유닛과 이를 포함하는 백라이트 어셈블리 및액정 표시 장치
授权日
1900-01-01
公开(公告)号
KR1020070077678A
申请日
2006-01-24
公开(公告)日
2007-07-27
当前申请(专利权)人
삼성디스플레이 주식회사
发明人
한승 | 고경록 | 전재환 | 이영재 | 박현수 | 김주영
简单同族
KR101255545B1 | KR1020070077678A | US20070183149A1 | US7810943
简单同族成员数量
4
简单同族被引用专利总数
59
诉讼案件数
0
法律状态/事件
未缴年费
抱歉,您的浏览器不支持PDF预览,请点击链接下载PDF文件