专利数据库
统计分析
产业报告
专利数据监控
产业人才
行业动态
产业政策法规
维权援助
个人中心
详情
文本
图像
标题
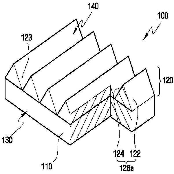
양방향 광전달 반투과 프리즘 시트, 양방향 백라이트어셈블리 및 이를 포함하는 양방향 액정표시장
授权日
1900-01-01
公开(公告)号
KR1020070007648A
申请日
2005-07-11
公开(公告)日
2007-01-16
当前申请(专利权)人
삼성전자주식회사
发明人
한병웅 | 주영비 | 김규석 | 김동철
简单同族
CN1896777A | KR1020070007648A | US20070008738A1
简单同族成员数量
3
简单同族被引用专利总数
58
诉讼案件数
0
法律状态/事件
撤回
抱歉,您的浏览器不支持PDF预览,请点击链接下载PDF文件