专利数据库
统计分析
产业报告
专利数据监控
产业人才
行业动态
产业政策法规
维权援助
个人中心
详情
文本
图像
标题
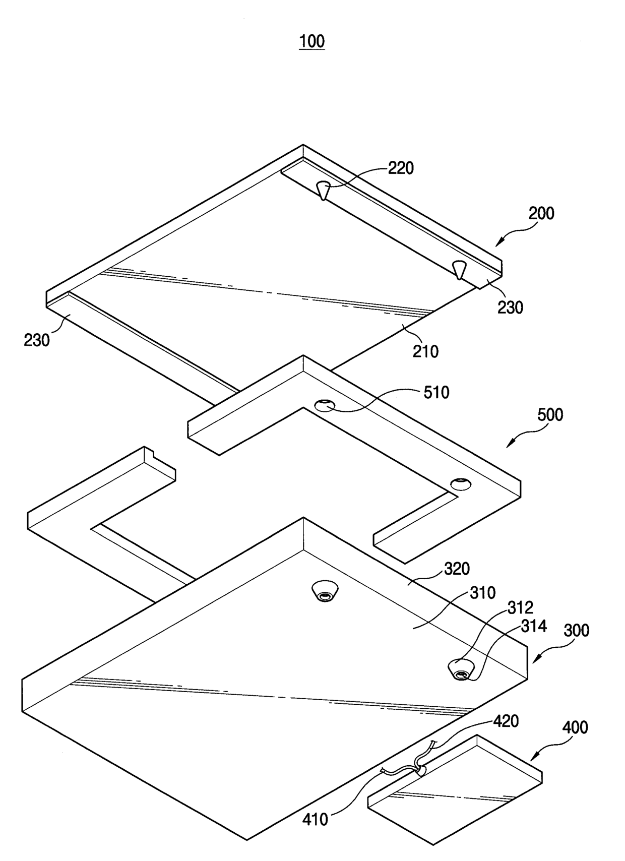
백라이트 어셈블리 및 이를 갖는 액정표시장치
授权日
1900-01-01
公开(公告)号
KR1020060030377A
申请日
2004-10-05
公开(公告)日
2006-04-10
当前申请(专利权)人
삼성전자주식회사
发明人
강석환 | 이희춘 | 이상유 | 이용우 | 이재상
简单同族
KR1020060030377A
简单同族成员数量
1
简单同族被引用专利总数
0
诉讼案件数
0
法律状态/事件
撤回
抱歉,您的浏览器不支持PDF预览,请点击链接下载PDF文件