专利数据库
统计分析
产业报告
专利数据监控
产业人才
行业动态
产业政策法规
维权援助
个人中心
详情
文本
图像
标题
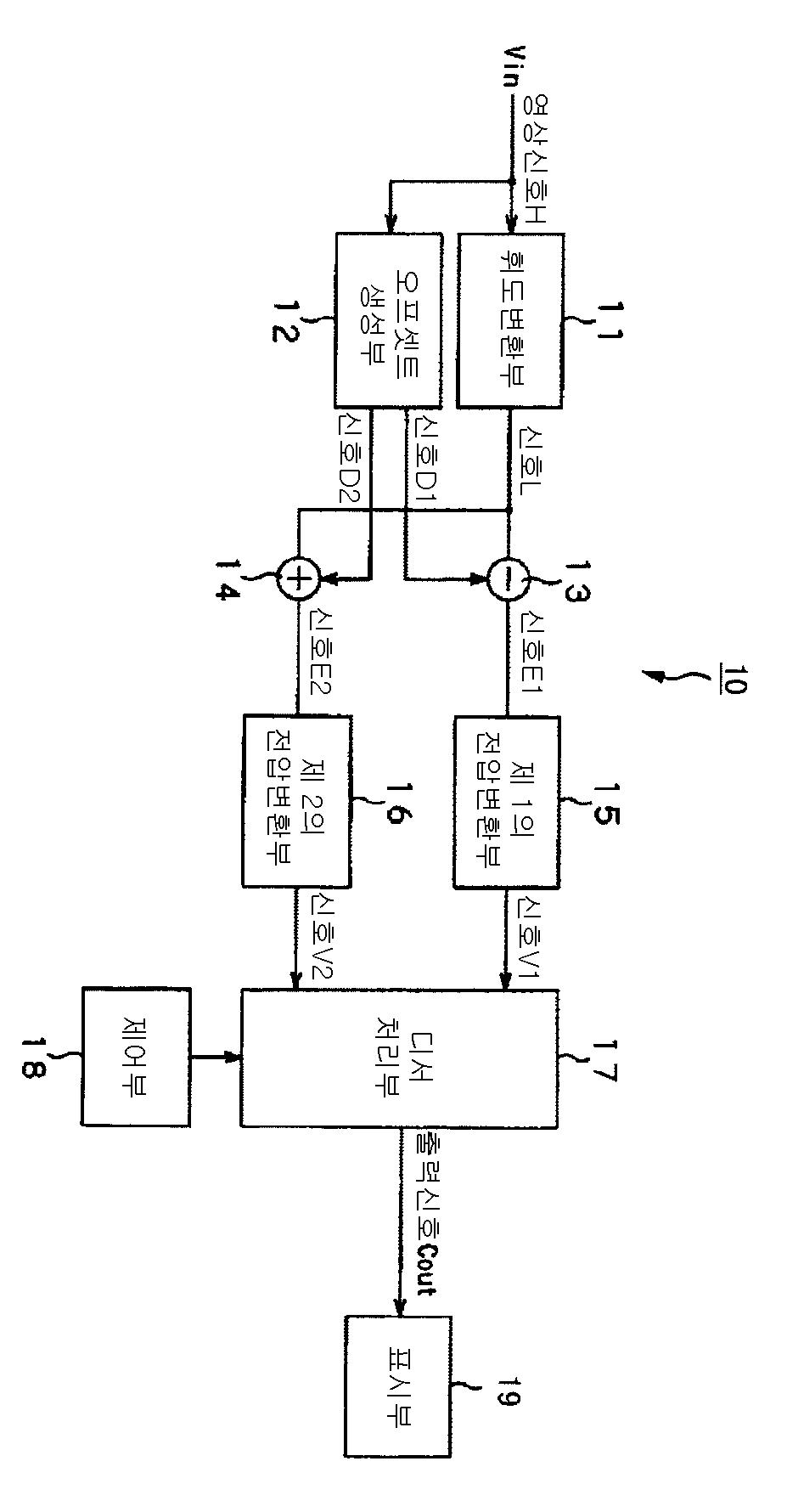
화상표시장치 및 화상표시방법
授权日
1900-01-01
公开(公告)号
KR1020070031262A
申请日
2005-07-15
公开(公告)日
2007-03-19
当前申请(专利权)人
소니 주식회사
发明人
야노도모야 | 시로치요시키 | 이소베도시노부 | 이이다마키오
简单同族
EP1662474A1 | EP1662474A4 | JP4882745B2 | JPWO2006009106A1 | JPWO2006009106A5 | KR101115046B1 | KR1020070031262A | TW200617868A | TWI305340B | US20080272998A1 | WO2006009106A1
简单同族成员数量
11
简单同族被引用专利总数
51
诉讼案件数
0
法律状态/事件
未缴年费
抱歉,您的浏览器不支持PDF预览,请点击链接下载PDF文件