专利数据库
统计分析
产业报告
专利数据监控
产业人才
行业动态
产业政策法规
维权援助
个人中心
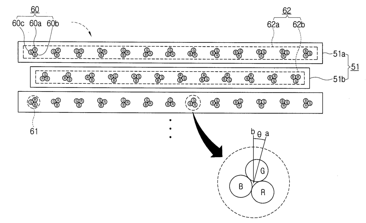
详情
文本
图像
标题
백라이트 유닛과 이를 포함하는 액정표시장치
授权日
1900-01-01
公开(公告)号
KR1020070009012A
申请日
2005-07-14
公开(公告)日
2007-01-18
当前申请(专利权)人
삼성디스플레이 주식회사
发明人
박세기 | 이상유 | 김기철 | 남석현 | 강석환
简单同族
CN100421010C | CN1896838A | EP1913435A1 | EP1913435A4 | EP1913435B1 | JP2007027114A | JP4342536B2 | KR101189085B1 | KR1020070009012A | TW200706997A | TWI345098B | US20070014098A1 | US7637626 | WO2007008048A1
简单同族成员数量
14
简单同族被引用专利总数
89
诉讼案件数
0
法律状态/事件
授权
抱歉,您的浏览器不支持PDF预览,请点击链接下载PDF文件