专利数据库
统计分析
产业报告
专利数据监控
产业人才
行业动态
产业政策法规
维权援助
个人中心
详情
文本
图像
标题
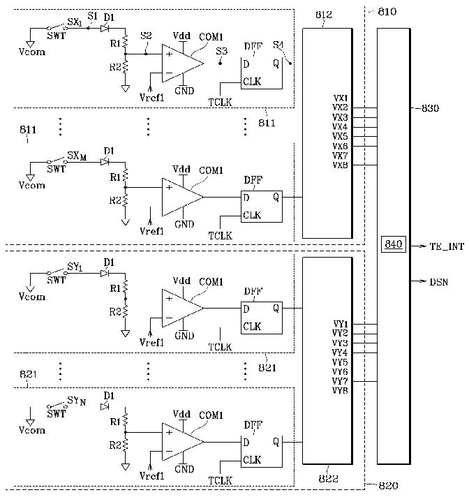
표시 장치 및 감지 신호 처리 장치
授权日
1900-01-01
公开(公告)号
KR1020070078526A
申请日
2006-01-27
公开(公告)日
2007-08-01
当前申请(专利权)人
삼성디스플레이 주식회사
发明人
이주형 | 김형걸 | 어기한
简单同族
CN101008727A | CN101008727B | EP1818788A2 | EP1818788A3 | JP2007200336A | JP2007200336A5 | JP5242059B2 | KR101230309B1 | KR1020070078526A | TW200729121A | TWI417826B | US20070182719A1 | US7936340
简单同族成员数量
13
简单同族被引用专利总数
90
诉讼案件数
0
法律状态/事件
授权
抱歉,您的浏览器不支持PDF预览,请点击链接下载PDF文件