专利数据库
统计分析
产业报告
专利数据监控
产业人才
行业动态
产业政策法规
维权援助
个人中心
详情
文本
图像
标题
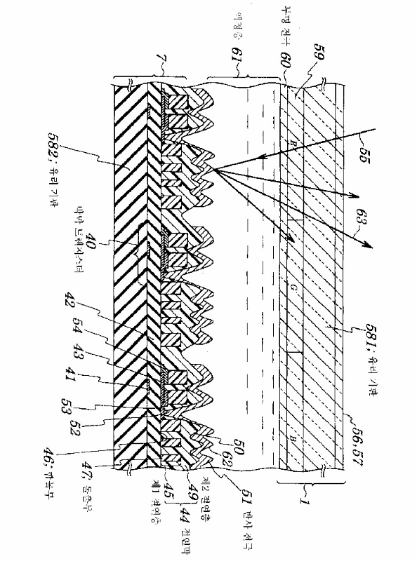
반사형 액정 표시 장치 및 그 제조 방법
授权日
1900-01-01
公开(公告)号
KR1020010074545A
申请日
2001-01-22
公开(公告)日
2001-08-04
当前申请(专利权)人
엔엘티 테크놀로지 가부시키가이샤 | 닛본 덴끼 가부시끼가이샤
发明人
가노우히로시 | 야마구찌유이찌 | 스즈끼데루아끼 | 기까와히로노리
简单同族
JP2001201742A | JP3626652B2 | KR1020010074545A | TW476862B | US20010010571A1 | US20040196419A1 | US20070070271A1 | US6747718 | US7215394 | US7450198
简单同族成员数量
10
简单同族被引用专利总数
124
诉讼案件数
0
法律状态/事件
驳回 | 复审
抱歉,您的浏览器不支持PDF预览,请点击链接下载PDF文件