专利数据库
统计分析
产业报告
专利数据监控
产业人才
行业动态
产业政策法规
维权援助
个人中心
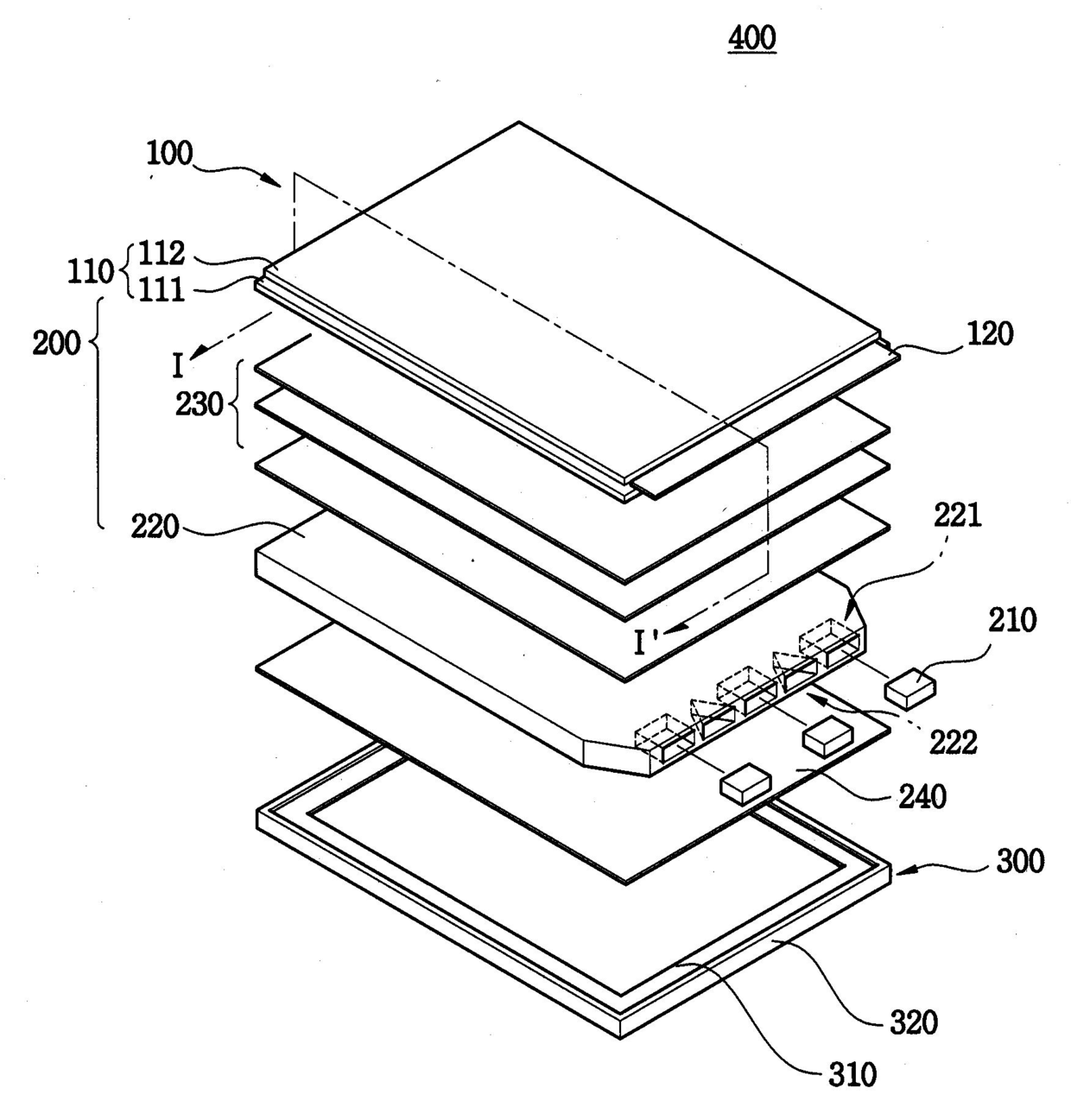
详情
文本
图像
标题
백라이트 어셈블리 및 이를 갖는 액정표시장치
授权日
2010-10-15
公开(公告)号
KR100989338B1
申请日
2003-07-01
公开(公告)日
2010-10-25
当前申请(专利权)人
삼성전자주식회사
发明人
한병웅 | 김규석 | 주영비
简单同族
CN1577005A | CN1577005B | JP2005026222A | KR100989338B1 | KR1020050005353A | TW200508737A | US20050001952A1 | US7139048
简单同族成员数量
8
简单同族被引用专利总数
159
诉讼案件数
0
法律状态/事件
未缴年费 | 权利转移
抱歉,您的浏览器不支持PDF预览,请点击链接下载PDF文件