专利数据库
统计分析
产业报告
专利数据监控
产业人才
行业动态
产业政策法规
维权援助
个人中心
详情
文本
图像
标题
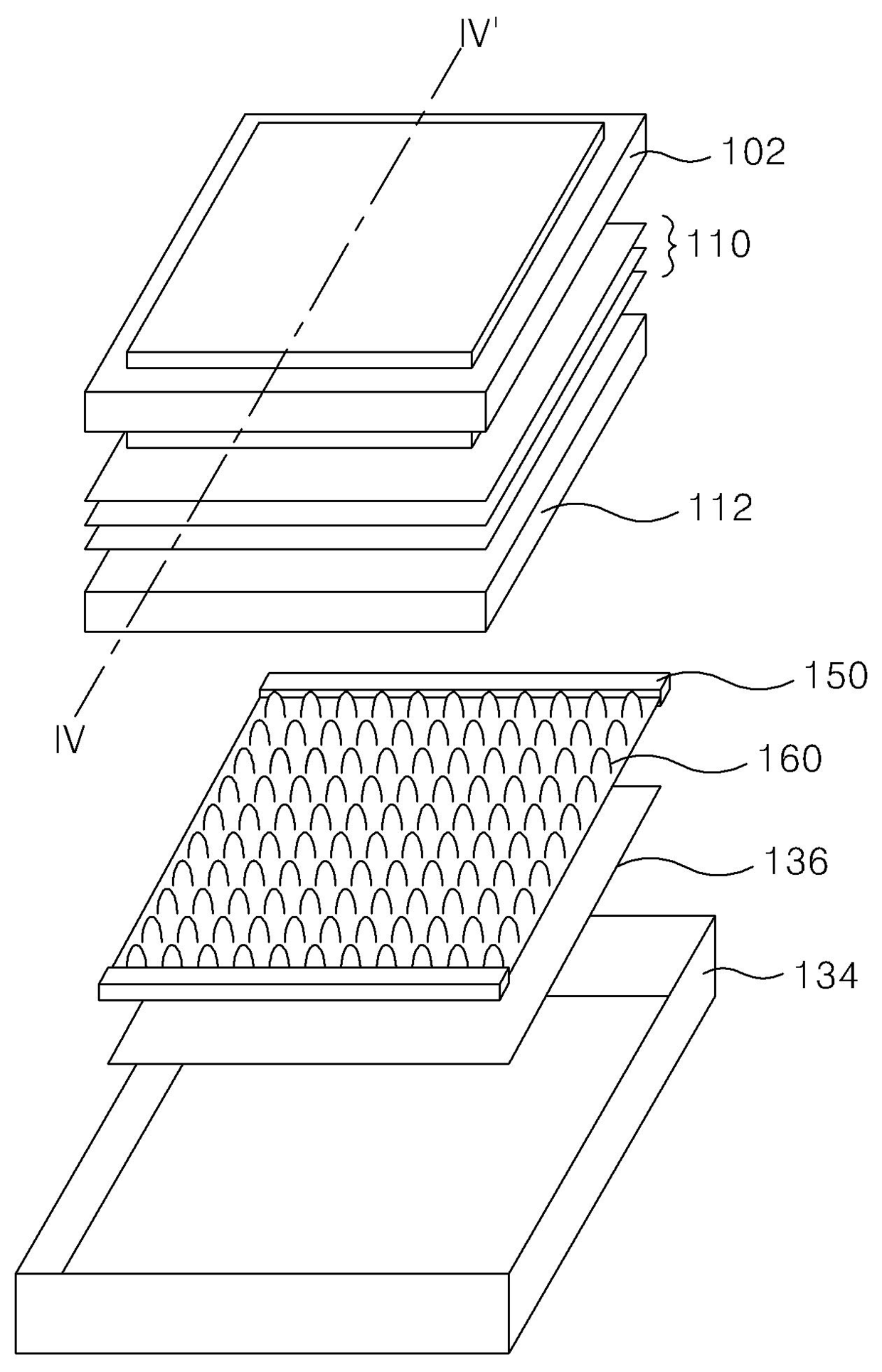
액정표시장치의 구동장치 및 방법
授权日
2011-12-14
公开(公告)号
KR101096720B1
申请日
2004-05-28
公开(公告)日
2011-12-22
当前申请(专利权)人
엘지디스플레이 주식회사
发明人
오의열 | 홍희정 | 김홍철 | 박희정
简单同族
CN100508007C | CN1702730A | DE102005024499A1 | JP2005338857A | KR101096720B1 | KR1020050112952A | TW200604995A | TWI310927B | US20060007103A1 | US7573447
简单同族成员数量
10
简单同族被引用专利总数
165
诉讼案件数
0
法律状态/事件
授权
抱歉,您的浏览器不支持PDF预览,请点击链接下载PDF文件