专利数据库
统计分析
产业报告
专利数据监控
产业人才
行业动态
产业政策法规
维权援助
个人中心
详情
文本
图像
标题
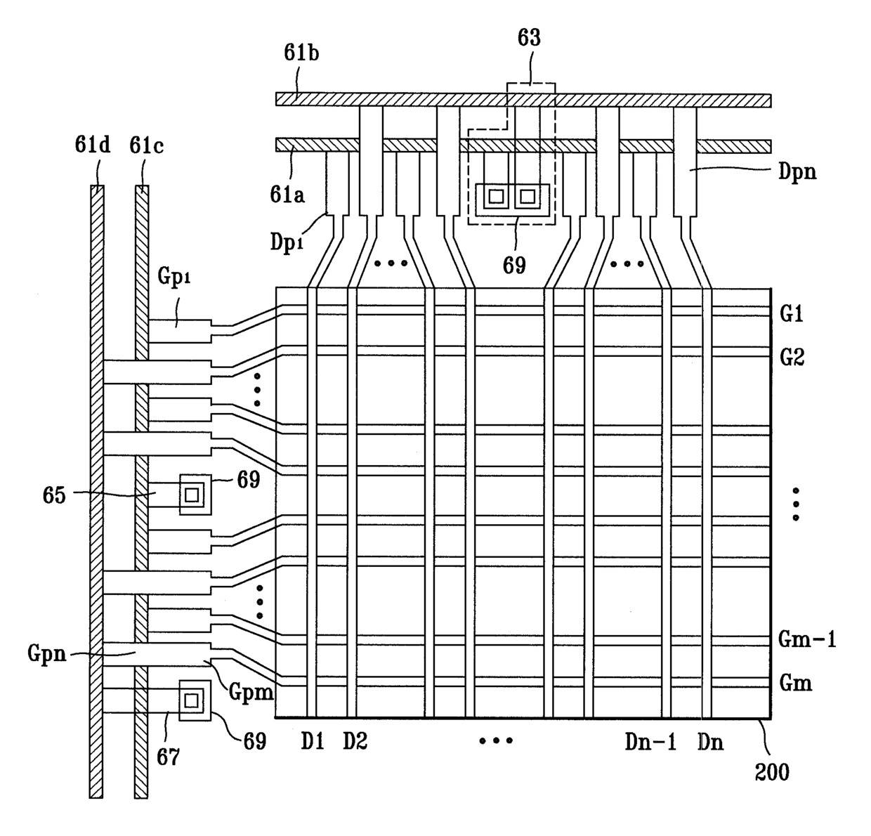
액정표시장치의 테스트 패드
授权日
1900-01-01
公开(公告)号
KR1020020056621A
申请日
2000-12-29
公开(公告)日
2002-07-10
当前申请(专利权)人
엘지디스플레이 주식회사
发明人
김익수
简单同族
KR100769160B1 | KR1020020056621A | US20020089614A1 | US20050056833A1 | US6861665 | US7129520
简单同族成员数量
6
简单同族被引用专利总数
86
诉讼案件数
0
法律状态/事件
授权
抱歉,您的浏览器不支持PDF预览,请点击链接下载PDF文件