专利数据库
统计分析
产业报告
专利数据监控
产业人才
行业动态
产业政策法规
维权援助
个人中心
详情
文本
图像
标题
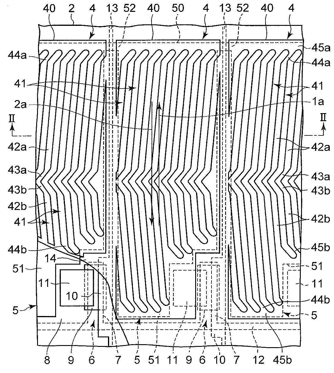
횡전계 제어형의 액정표시소자
授权日
1900-01-01
公开(公告)号
KR1020080028818A
申请日
2007-09-27
公开(公告)日
2008-04-01
当前申请(专利权)人
가시오게산키 가부시키가이샤
发明人
아라이노리히로 | 고바야시군페이 | 니시노도시하루
简单同族
CN100555046C | CN101165575A | CN101515093A | CN101515093B | CN101614907A | CN101614907B | HK1115451A | HK1115451A1 | JP2008083386A | JP4203676B2 | KR100939159B1 | KR1020080028818A | KR1020090020674A | TW200821719A | TWI361943B | US20080074602A1 | US20100157222A1 | US8436972
简单同族成员数量
18
简单同族被引用专利总数
93
诉讼案件数
0
法律状态/事件
授权 | 权利转移
抱歉,您的浏览器不支持PDF预览,请点击链接下载PDF文件