专利数据库
统计分析
产业报告
专利数据监控
产业人才
行业动态
产业政策法规
维权援助
个人中心
详情
文本
图像
标题
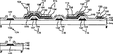
水平电场施加型液晶显示器及其制造方法
授权日
2010-02-24
公开(公告)号
CN100592172C
申请日
2004-03-29
公开(公告)日
2010-02-24
当前申请(专利权)人
乐金显示有限公司
发明人
安炳喆 | 林柄昊
简单同族
CN100592172C | CN1550857A | DE102004015276A1 | DE102004015276B4 | JP2004302466A | TW200419238A | TWI242671B | US20040189919A1 | US20070263166A1 | US7248323 | US7986380
简单同族成员数量
11
简单同族被引用专利总数
109
诉讼案件数
0
法律状态/事件
授权
抱歉,您的浏览器不支持PDF预览,请点击链接下载PDF文件