专利数据库
统计分析
产业报告
专利数据监控
产业人才
行业动态
产业政策法规
维权援助
个人中心
详情
文本
图像
标题
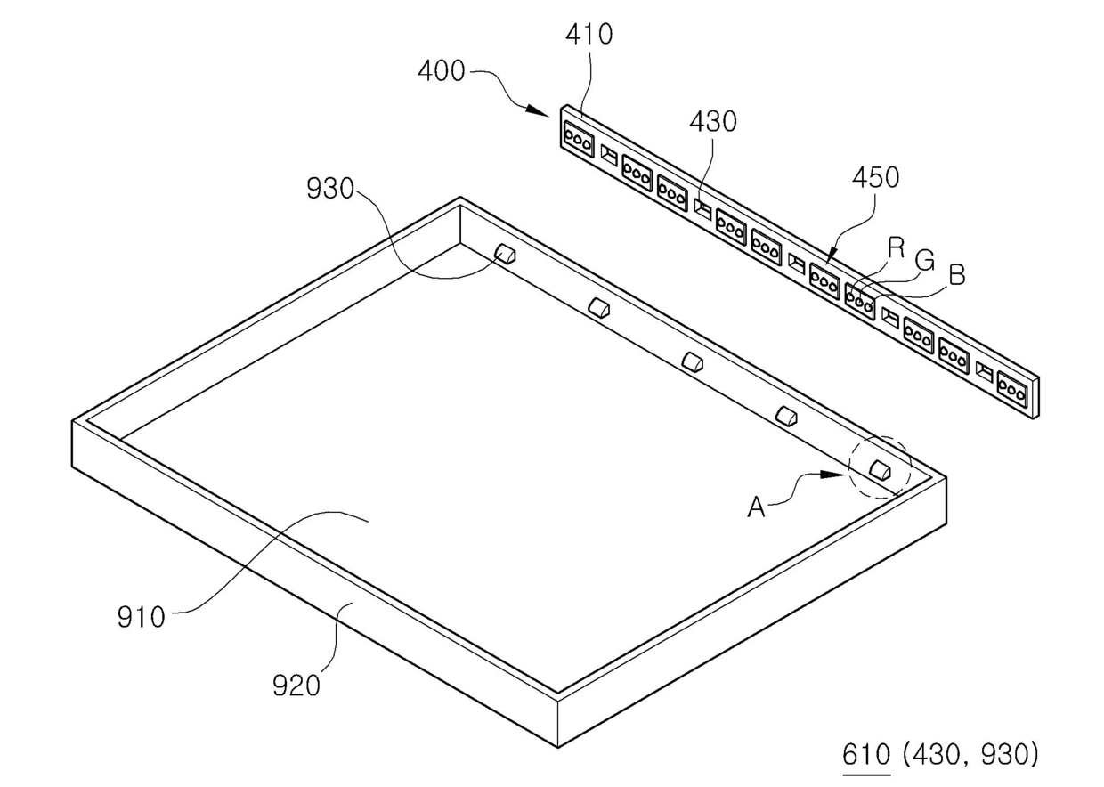
백라이트 어셈블리 및 이를 포함한 액정표시장치
授权日
1900-01-01
公开(公告)号
KR1020080073597A
申请日
2007-02-06
公开(公告)日
2008-08-11
当前申请(专利权)人
삼성디스플레이 주식회사
发明人
장문환 | 김기철
简单同族
EP1956422A2 | EP1956422A3 | EP1956422B1 | KR101319585B1 | KR1020080073597A | US20080186425A1 | US8059226
简单同族成员数量
7
简单同族被引用专利总数
71
诉讼案件数
0
法律状态/事件
未缴年费
抱歉,您的浏览器不支持PDF预览,请点击链接下载PDF文件