专利数据库
统计分析
产业报告
专利数据监控
产业人才
行业动态
产业政策法规
维权援助
个人中心
详情
文本
图像
标题
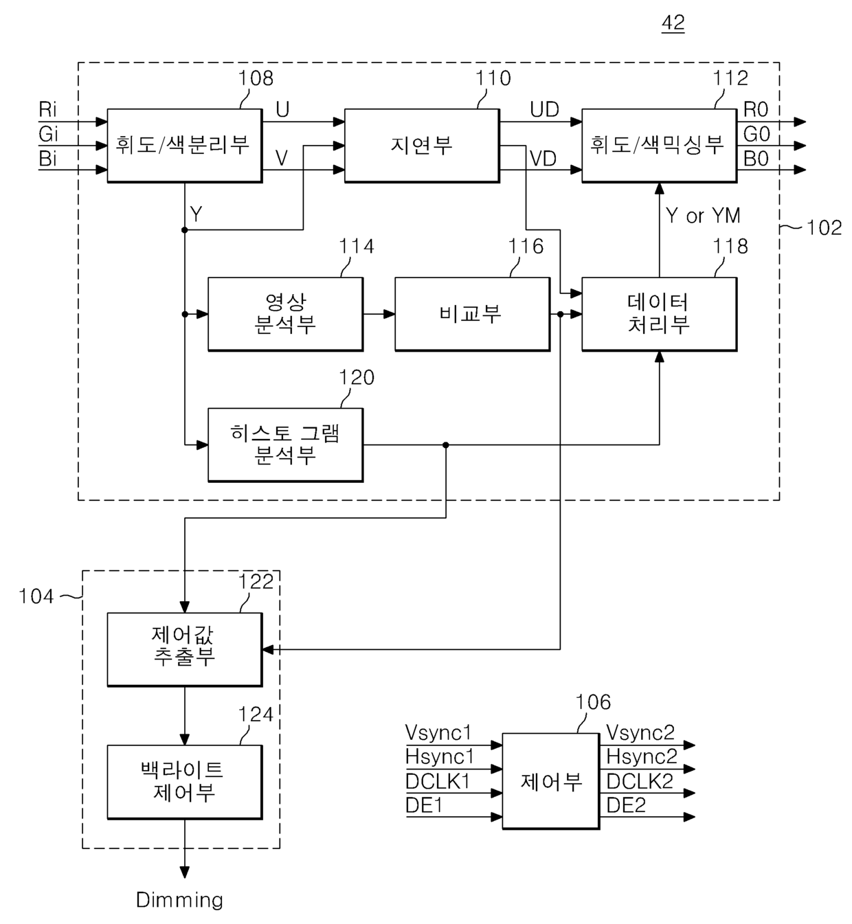
액정표시장치의 구동방법 및 구동장치
授权日
1900-01-01
公开(公告)号
KR1020050047355A
申请日
2003-11-17
公开(公告)日
2005-05-20
当前申请(专利权)人
엘지디스플레이 주식회사
发明人
백성호 | 장철상
简单同族
KR100588013B1 | KR1020050047355A | US20050104837A1 | US20100165010A1 | US7705814 | US7876300
简单同族成员数量
6
简单同族被引用专利总数
128
诉讼案件数
0
法律状态/事件
授权
抱歉,您的浏览器不支持PDF预览,请点击链接下载PDF文件