专利数据库
统计分析
产业报告
专利数据监控
产业人才
行业动态
产业政策法规
维权援助
个人中心
详情
文本
图像
标题
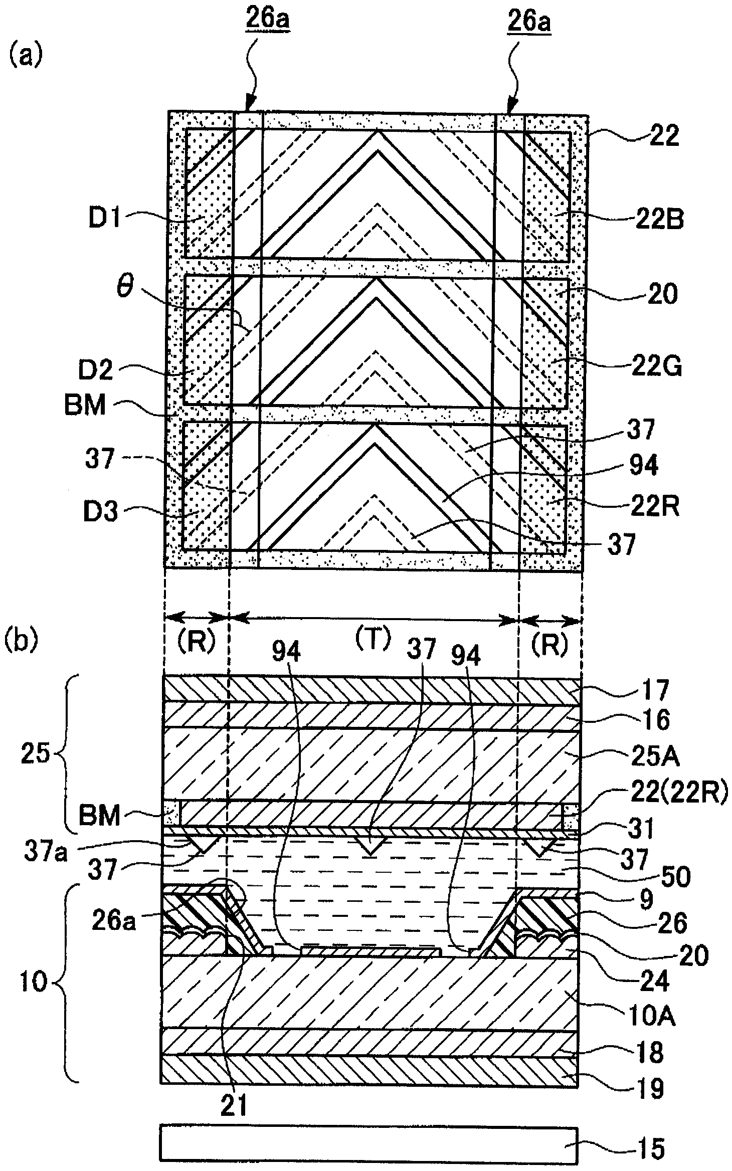
액정 표시 장치 및 전자 기기
授权日
1900-01-01
公开(公告)号
KR1020040081360A
申请日
2004-03-12
公开(公告)日
2004-09-21
当前申请(专利权)人
세이코 엡슨 가부시키가이샤
发明人
OKUMURA,OSAMU
简单同族
CN100428011C | CN1530695A | JP2004279566A | JP3849659B2 | KR100683371B1 | KR1020040081360A | TW200424621A | TWI257498B | US20040227876A1 | US7126657
简单同族成员数量
10
简单同族被引用专利总数
78
诉讼案件数
0
法律状态/事件
授权 | 权利转移
抱歉,您的浏览器不支持PDF预览,请点击链接下载PDF文件